授权公布号:CN213897891U
墙板阴角拼线结构
有效
申请
2020-10-08
申请公布
1970-01-01
授权
2021-08-06
预估到期
2030-10-08
| 申请号 | CN202022214420.3 |
| 申请日 | 2020-10-08 |
| 授权公布号 | CN213897891U |
| 授权公告日 | 2021-08-06 |
| 分类号 | E04F13/073;E04F13/076;E04F13/21 |
| 分类 | 建筑物; |
| 申请人名称 | 广东德派克家居科技有限公司 |
| 申请人地址 | 广东省佛山市南海区狮山镇科技园区科技东路10号 |
专利法律状态
2021-08-06
授权
状态信息
授权
摘要
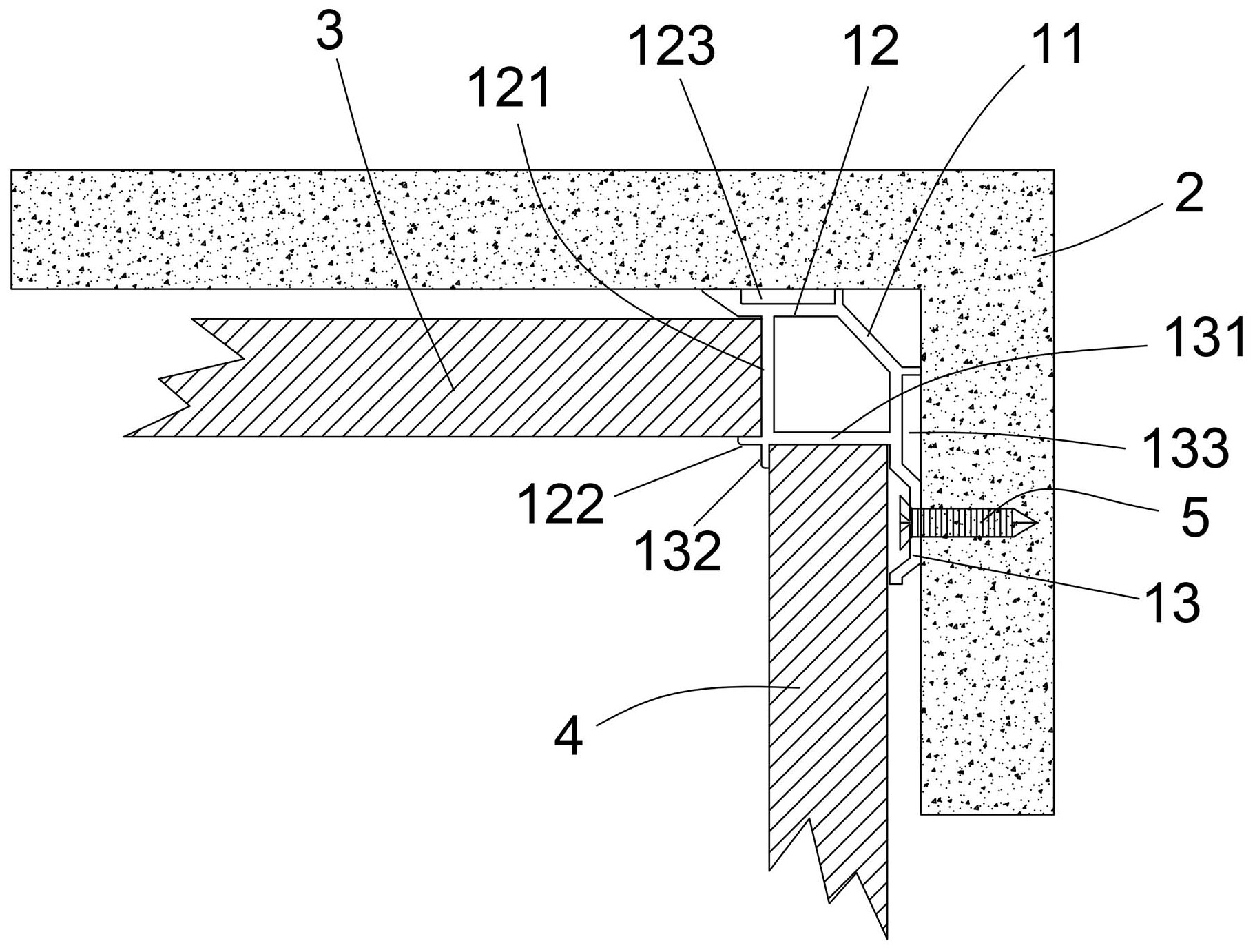
本实用新型涉及墙板阴角拼线结构,其阴角拼线体上设有匹配靠接墙体转角的转向部以及顺应贴靠墙体相应侧面的第一靠墙部、第二靠墙部;第一靠墙部设有第一支撑底板,第二靠墙部设有第二支撑底板,第一支撑底板与第二支撑底板相互垂直延伸且末端交叉连接在一起,同时第一支撑底板的交叉末端凸伸第一夹块,第二支撑底板的交叉末端凸伸第二夹块,第一夹块与第一靠墙部之间形成第一嵌套口,第二夹块与第二靠墙部之间形成第二嵌套口;第一墙板的相应端头嵌设在第一嵌套口中并抵靠第一支撑底板;第二墙板的相应端头嵌设在第二嵌套口中并抵靠第二支撑底板,实现第二墙板与第一墙板呈直角关系联系在一起。安装简单又省材料,卡口小,结构紧凑,更美观。


