授权公布号:CN213897981U
墙板收口拼线
有效
申请
2020-10-08
申请公布
1970-01-01
授权
2021-08-06
预估到期
2030-10-08
| 申请号 | CN202022214427.5 |
| 申请日 | 2020-10-08 |
| 授权公布号 | CN213897981U |
| 授权公告日 | 2021-08-06 |
| 分类号 | E04F19/02 |
| 分类 | 建筑物; |
| 申请人名称 | 广东德派克家居科技有限公司 |
| 申请人地址 | 广东省佛山市南海区狮山镇科技园区科技东路10号 |
专利法律状态
2021-08-06
授权
状态信息
授权
摘要
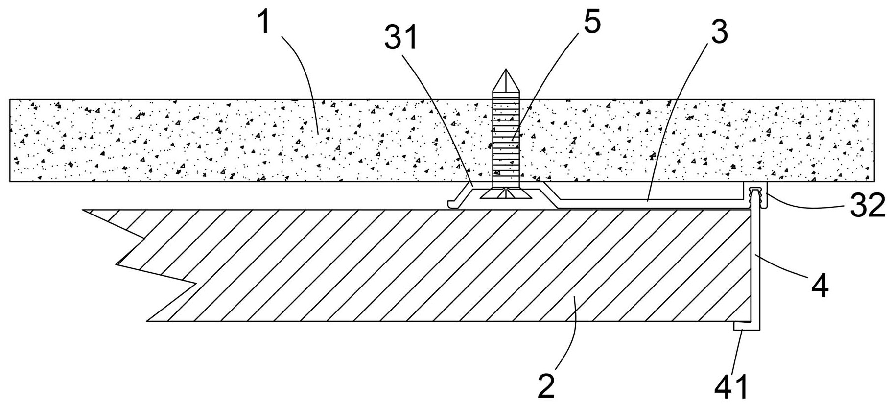
本实用新型涉及墙板收口拼线,包括墙体、墙板,以及辅助墙板组装到墙体上的拼线座,该拼线座顺沿墙体延伸,拼线座在相对侧的两端头上分别设有固定部和收口部,固定部与墙体连接,达到拼线座以设定的形态固定在墙体上;收口部位于墙板的相应侧边上,且收口部连接有J型卡条,该J型卡条包裹墙板的相应侧边,达到收口形态。本实用新型通过拼线座固定在墙体上,并搭配J型卡条将墙板组装在墙体上,且获得收口形态,安装简单又省材料,毛坯墙体就可以安装;装好后看不到螺钉,外形美观;J型卡条获得收口功效,并具有相应装饰功能,提升墙板拼装效果。


