授权公布号:CN216483716U
锅炉管道用泄漏检测装置
有效
申请
2021-12-30
申请公布
1970-01-01
授权
2022-05-10
预估到期
2031-12-30
| 申请号 | CN202123406319.9 |
| 申请日 | 2021-12-30 |
| 授权公布号 | CN216483716U |
| 授权公告日 | 2022-05-10 |
| 分类号 | G01M3/00 |
| 分类 | 测量;测试; |
| 申请人名称 | 江苏申港锅炉有限公司 |
| 申请人地址 | 江苏省苏州市张家港市杨舍镇蒋东村江苏申港锅炉有限公司 |
专利法律状态
2022-05-10
授权
状态信息
授权
摘要
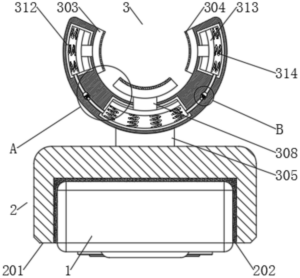
本实用新型公开了锅炉管道用泄漏检测装置,包括:泄漏检测仪、固定连接机构、卡合固定机构,固定连接机构设于泄漏检测仪的一侧,固定连接机构包括固定架,固定架与泄漏检测仪相连接,固定架与泄漏检测仪之间连接有缓冲隔热垫,卡合固定机构设于固定架远离泄漏检测仪的一侧,卡合固定机构包括卡合块,卡合块内设有弧形支撑件,弧形支撑件的两侧均设有固定件。本实用新型通过对锅炉管道用泄漏检测装置设置相应的卡合固定机构,可以根据实际需要对锅炉管道用泄漏检测装置进行快速安装与调整,简化了锅炉管道用泄漏检测装置的移动调整过程,提高了锅炉管道用泄漏检测装置的安装使用便捷性。


