授权公布号:CN215070292U
一种具有卡紧结构的蓄电池模组
有效
申请
2021-07-13
申请公布
1970-01-01
授权
2021-12-07
预估到期
2031-07-13
| 申请号 | CN202121579858.X |
| 申请日 | 2021-07-13 |
| 授权公布号 | CN215070292U |
| 授权公告日 | 2021-12-07 |
| 分类号 | H01M50/262;H01M50/271;H01M50/24;H01M50/244;H01M50/258;H01M50/256;H01M50/204 |
| 分类 | 基本电气元件; |
| 申请人名称 | 深圳雷迪司科技股份有限公司 |
| 申请人地址 | 广东省深圳市坪山区坪山大道中天美景大厦1209 |
专利法律状态
2021-12-07
授权
状态信息
授权
摘要
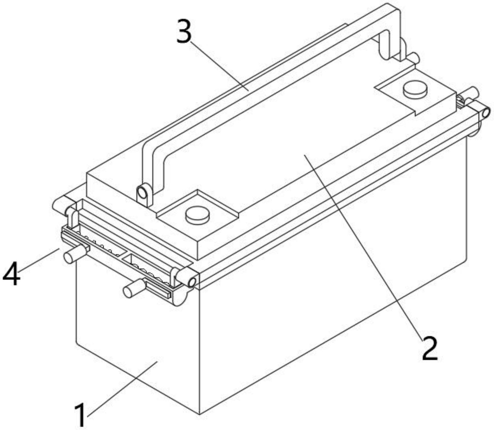
本实用新型公开了一种具有卡紧结构的蓄电池模组,包括蓄电池模组本体和盖体,所述盖体的顶面设有携带机构,所述携带机构包括连接块和把手,所述蓄电池模组本体的两侧分别设有卡紧机构,所述卡紧机构包括固定板、固定杆、压缩弹簧、活动块。本实用新型所述的一种具有卡紧结构的蓄电池模组,属于蓄电池领域,通过设置的卡紧机构、密封块和密封环的配合使用,可将盖体卡紧在蓄电池模组本体的上面,并对蓄电池模组本体实现密封操作,避免内部的电解液外泄,确保蓄电池模组本体的密封性,以防止盖体从蓄电池模组本体上脱落,且安装拆卸操作简单方便,设置的携带机构,则便于对蓄电池模组本体进行搬运携带。


