授权公布号:CN210580047U
一种多功能割灌割草机
有效
申请
2019-06-27
申请公布
1970-01-01
授权
2020-05-22
预估到期
2029-06-27
| 申请号 | CN201920990082.7 |
| 申请日 | 2019-06-27 |
| 授权公布号 | CN210580047U |
| 授权公告日 | 2020-05-22 |
| 分类号 | A01D34/68;A01D34/74;A01D34/78;A01D34/82 |
| 分类 | 农业;林业;畜牧业;狩猎;诱捕;捕鱼; |
| 申请人名称 | 宁波奥晟机械有限公司 |
| 申请人地址 | 浙江省宁波市余姚市临山镇临山工业区南塘西路77号 |
专利法律状态
2024-01-05
专利实施许可合同备案的生效、变更及注销
状态信息
专利实施许可合同备案的生效;IPC(主分类):A01D 34/68;专利申请号:2019209900827;专利号:ZL2019209900827;合同备案号:X2023980053134;让与人:宁波奥晟机械有限公司;受让人:浙江日晟农林科技有限公司;实用新型名称:一种多功能割灌割草机;申请日:20190627;授权公告日:20200522;许可种类:普通许可;备案日期:20231219
2020-05-22
授权
状态信息
授权
摘要
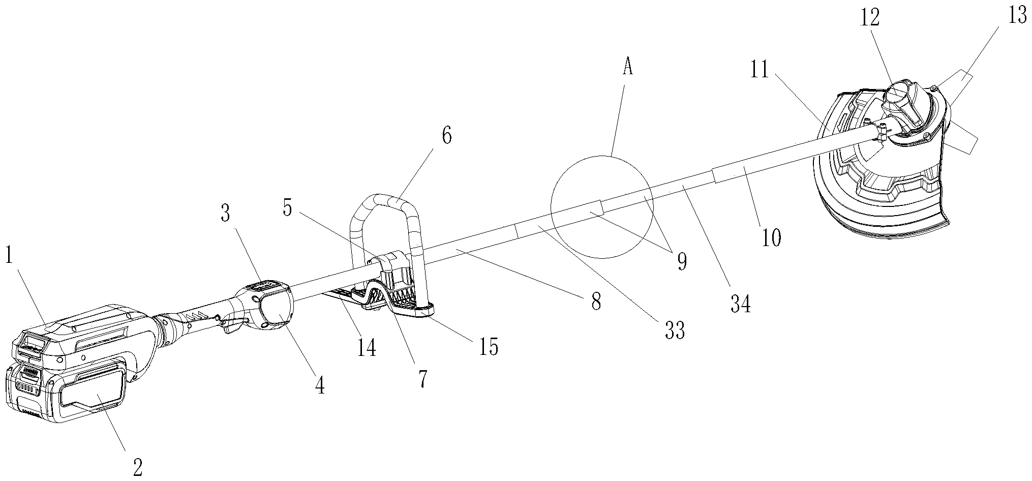
本实用新型涉及农业机械设备技术领域,尤其是涉及一种多功能割灌割草机。一种多功能割灌割草机,包括连接杆,连接杆的一端安装有机壳,机壳内设置有用于供电的蓄电池,连接杆的另一端连接有驱动电机,驱动电机的输出轴处连接有刀片,连接杆上靠近机壳处连接有主手柄,连接杆上位于主手柄的远离机壳的一侧设置有支撑装置,支撑装置包括呈U型的支撑块和呈U型的固定块,支撑块和固定块的开口朝向同一侧,固定块的两侧壁固定在支撑块的外壁上,连接杆固定在支撑块和固定块之间,支撑块的两侧壁均向外延伸设有延伸板,延伸板上固定有辅助手柄。本实用新型操作方便,能够提高作业效率。


