授权公布号:CN217548028U
三通道脉搏波信号传感绑带以及脉搏波无创血压测量装置
有效
申请
2022-04-13
申请公布
1970-01-01
授权
2022-10-11
预估到期
2032-04-13
| 申请号 | CN202220862848.5 |
| 申请日 | 2022-04-13 |
| 授权公布号 | CN217548028U |
| 授权公告日 | 2022-10-11 |
| 分类号 | A61B5/0225 |
| 分类 | 医学或兽医学;卫生学; |
| 申请人名称 | 深圳瑞光康泰科技有限公司 |
| 申请人地址 | 广东省深圳市南山区西丽街道阳光社区新锋大楼B栋501 |
专利法律状态
2022-10-11
授权
状态信息
授权
摘要
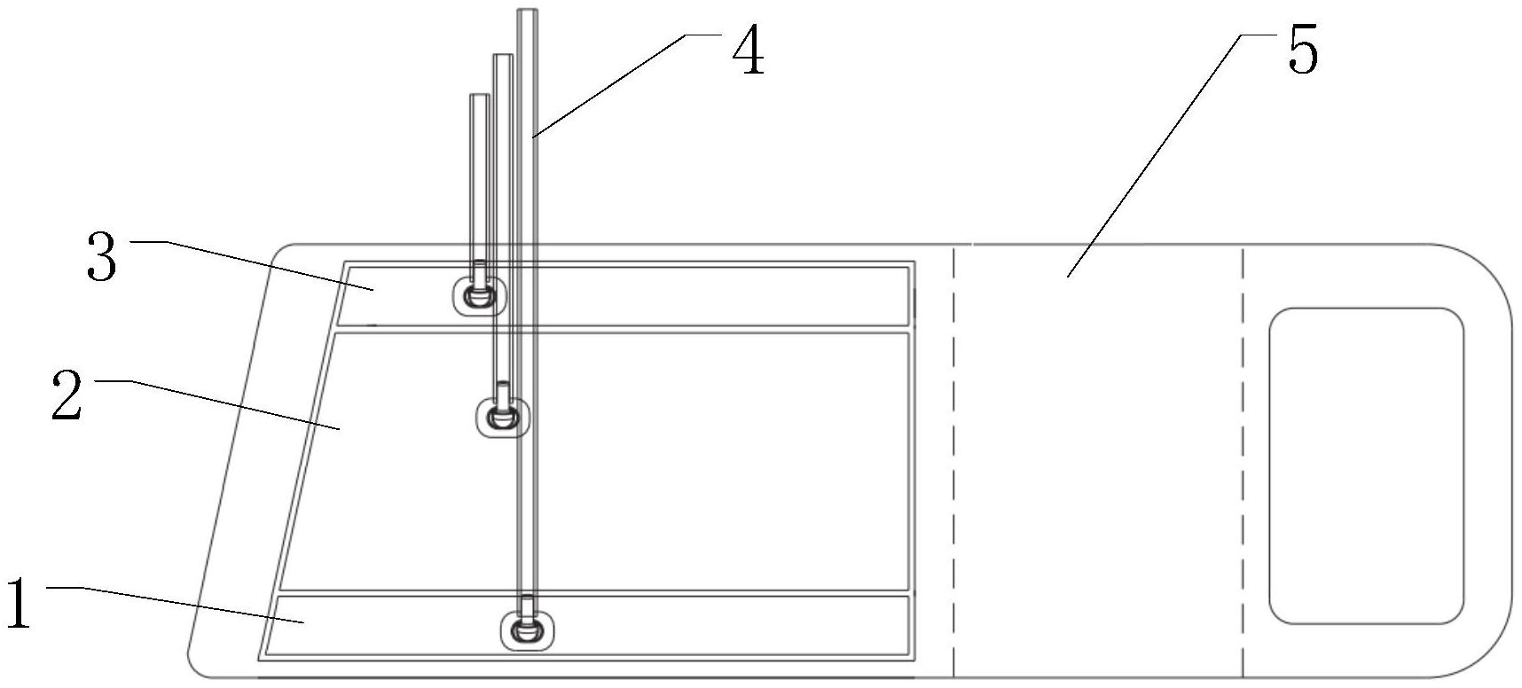
一种三通道脉搏波信号传感绑带,按照血流方向分为上游信号通道、中游信号通道和下游信号通道,上游信号通道为内置充气气囊或附着有电子信号传感器的绑带体,中游信号通道为内置充气气囊的绑带体,下游信号通道为内置充气气囊或附着有电子信号传感器的绑带体,其中,上、中和下游信号通道的内置充气气囊均分别通过导气管与无创血压测量装置主机的三个对应连接插口对接,上游信号通道和下游信号通道的电子信号传感器均分别通过信号连接线与无创血压测量装置主机的两个对应连接插口对接;中游信号通道充气气囊在充气时可以阻断动脉血流,其宽度按被测者肢体围度决定最小宽度,并对应于被测者肢体的围度。能够实现准确测量中心动脉压和腔内大动脉压。


