授权公布号:CN107720122B
一种皮带防跑偏装置
有效
申请
2017-09-27
申请公布
2018-02-23
授权
2024-02-23
预估到期
2037-09-27
| 申请号 | CN201710890991.9 |
| 申请日 | 2017-09-27 |
| 申请公布号 | CN107720122A |
| 申请公布日 | 2018-02-23 |
| 授权公布号 | CN107720122B |
| 授权公告日 | 2024-02-23 |
| 分类号 | B65G23/04;B65G15/64;B65G45/10;B65G15/00;B07C5/342 |
| 分类 | 输送;包装;贮存;搬运薄的或细丝状材料; |
| 申请人名称 | 安徽中科光电色选机械有限公司 |
| 申请人地址 | 安徽省合肥市肥西县桃花镇玉兰大道43号 |
专利法律状态
2024-02-23
授权
状态信息
授权
2018-03-20
实质审查的生效
状态信息
实质审查的生效;IPC(主分类):B65G23/04;申请日:20170927
2018-02-23
公布
状态信息
公布
摘要
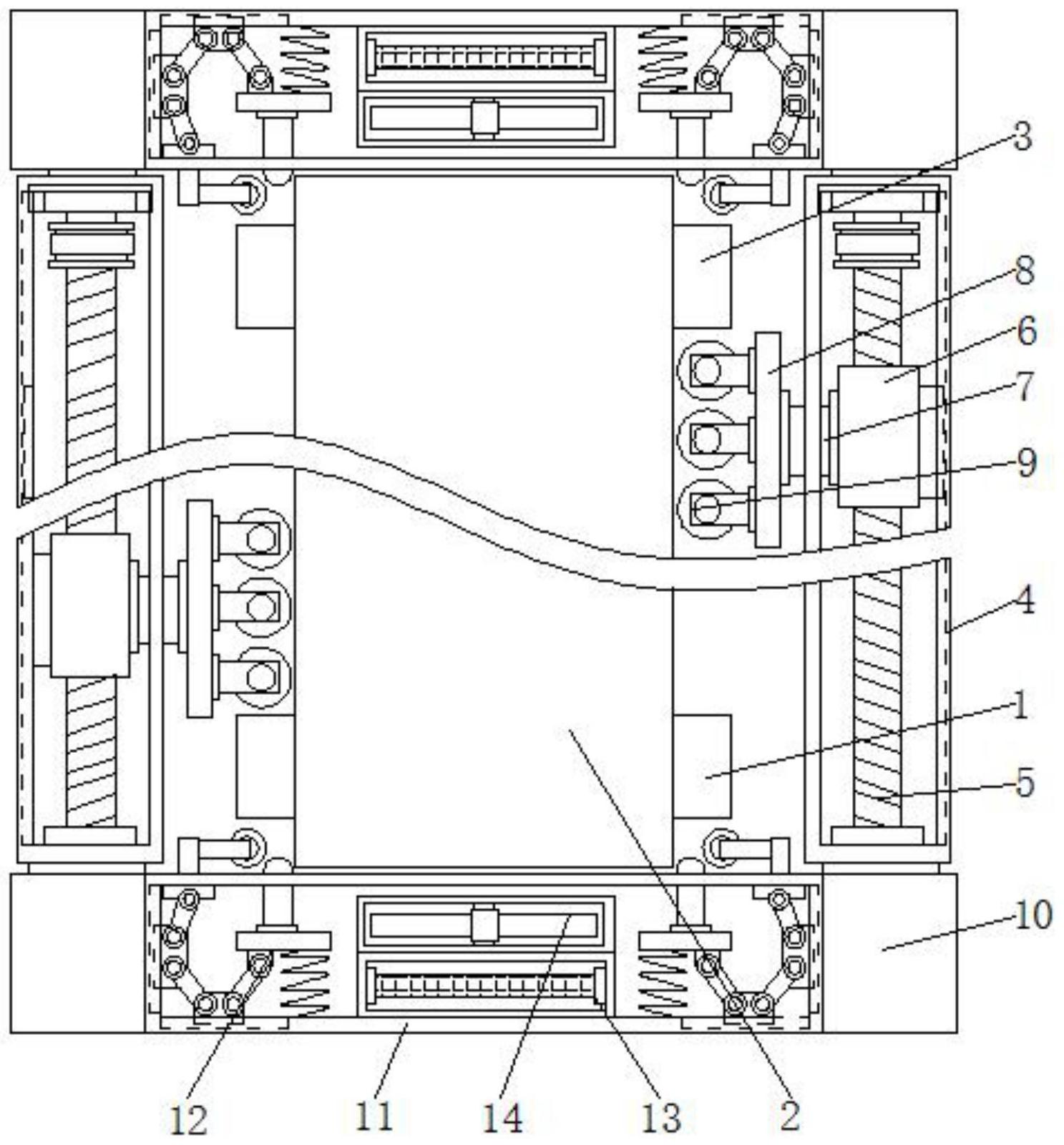
本发明公开了一种皮带防跑偏装置,包括主动辊和底箱,主动辊的表面通过皮带传动连接有从动辊,底箱的数量为两个且分别位于皮带的两侧呈中心对称分布,底箱的两侧均固定连接有固定块,固定块的一侧固定连接有隔箱,且底箱的内部通过移动装置螺纹连接有螺纹块,螺纹块的一侧与底箱内壁的一侧滑动连接,螺纹块的一侧固定连接有连接板,连接板远离螺纹块的一侧贯穿底箱且延伸至底箱的外部,涉及皮带防偏装置技术领域。该皮带防跑偏装置,可以对皮带进行加热处理,提升皮带的传输效率,能够方便快速的使其恢复正常的工作水平,同时能够对其表面的灰尘进行一定程度的处理,装置结构简单,实用性强。


