授权公布号:CN212360802U
一种新型按压式阀芯
有效
申请
2020-07-08
申请公布
1970-01-01
授权
2021-01-15
预估到期
2030-07-08
| 申请号 | CN202021334439.5 |
| 申请日 | 2020-07-08 |
| 授权公布号 | CN212360802U |
| 授权公告日 | 2021-01-15 |
| 分类号 | F16K1/00 |
| 分类 | 工程元件或部件;为产生和保持机器或设备的有效运行的一般措施;一般绝热; |
| 申请人名称 | 台州丰华铜业有限公司 |
| 申请人地址 | 浙江省台州市玉环市大麦屿经济开发区南尤工业区 |
专利法律状态
2021-01-15
授权
状态信息
授权
摘要
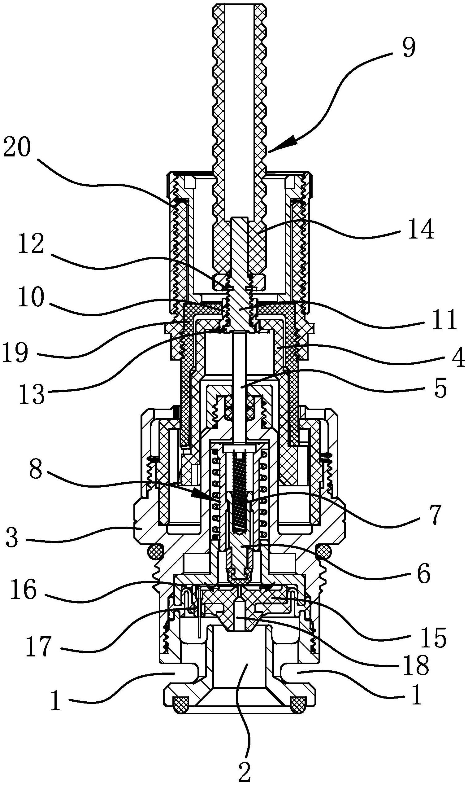
本实用新型提供了一种新型按压式阀芯,属于阀门技术领域。它解决了现有按压式阀芯不能调节流量的问题。本新型按压式阀芯,包括阀芯壳,该阀芯壳的上部设置有滑爪套以及伸缩机构,阀芯壳的下部具有过水通道,阀芯壳内还竖直设置有呈杆状的压杆、设置于压杆下方的密封芯子以及密封弹簧,密封弹簧的两端分别作用在压杆和密封芯子上,阀芯壳内还设置有回位机构,所述回位机构能作用在所述压杆和密封芯子上并使所述压杆和密封芯子上移,按压式阀芯还包括连接于所述滑爪套顶部的调节件,所述调节件能相对于滑爪套沿压杆的轴向移动并在移动后定位,所述压杆的上端抵靠在调节件的下端。本新型按压式阀芯具有适用性广的优点。


