授权公布号:CN218210909U
带液位监测结构的板式换热器
有效
申请
2022-09-09
申请公布
1970-01-01
授权
2023-01-03
预估到期
2032-09-09
| 申请号 | CN202222398315.9 |
| 申请日 | 2022-09-09 |
| 授权公布号 | CN218210909U |
| 授权公告日 | 2023-01-03 |
| 分类号 | F28D9/00;F28F17/00;F28F27/00;G01F23/72 |
| 分类 | 一般热交换; |
| 申请人名称 | 四平市巨元瀚洋板式换热器有限公司 |
| 申请人地址 | 吉林省四平市铁西区南环西路5号 |
专利法律状态
2024-02-02
专利权质押登记、变更及注销
状态信息
专利权质押登记;IPC(主分类):F28D9/00;专利号:ZL2022223983159;登记号:Y2024220000008;登记日:20240115;出质人:四平市巨元瀚洋板式换热器有限公司;质权人:中国工商银行股份有限公司四平分行;实用新型名称:带液位监测结构的板式换热器;申请日:20220909;授权公告日:20230103
2023-01-03
授权
状态信息
授权
摘要
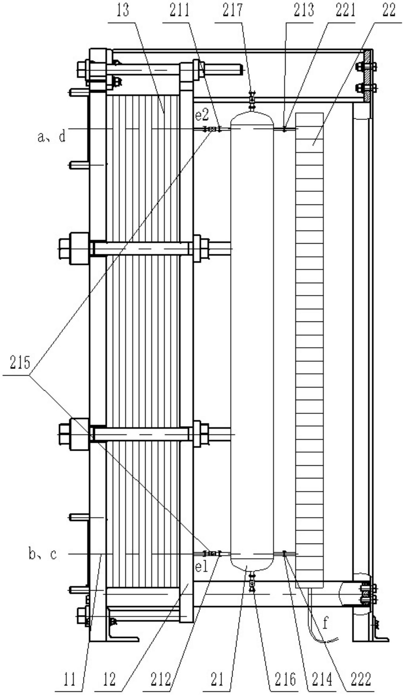
本实用新型涉及一种带液位监测结构的板式换热器。包括固定板、活动板及固定板与活动板之间的换热板片,在活动板外侧设有液位监测结构,所述液位监测结构包括液位测量筒、磁翻板液位计,磁翻板液位计与控制器连接。液位测量筒与换热器连接通,磁翻板液位计与液位测量筒连通。本实用新型打破了现有板式换热器无法做到换热器内部的凝液液位监测的传统难题。


