授权公布号:CN214877568U
一种电压互感器的手提搬运工具
有效
申请
2021-06-11
申请公布
1970-01-01
授权
2021-11-26
预估到期
2031-06-11
| 申请号 | CN202121320600.8 |
| 申请日 | 2021-06-11 |
| 授权公布号 | CN214877568U |
| 授权公告日 | 2021-11-26 |
| 分类号 | B65G7/12 |
| 分类 | 输送;包装;贮存;搬运薄的或细丝状材料; |
| 申请人名称 | 广东四会互感器厂有限公司 |
| 申请人地址 | 广东省肇庆市四会市东城街道富华路8号 |
专利法律状态
2021-11-26
授权
状态信息
授权
摘要
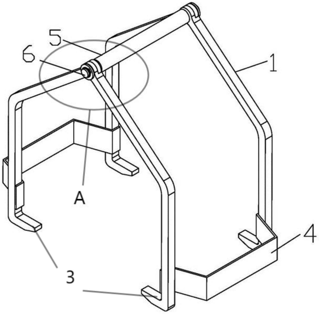
本实用新型涉及一种电压互感器的手提搬运工具,手提搬运工具包括吊臂和主轴;吊臂的上端设置有圆孔,下端设置有吊钩;主轴上嵌套有套管,主轴的两端通过吊臂上的圆孔分别嵌挂有四根吊臂,位于主轴两端最外侧的吊臂圆孔的外侧依次设置有两组垫片和卡簧,同一侧的两根吊臂之间固定有一个限位片,圆孔与主轴之间为转动连接;本实用新型解决了传统搬运方式中工人需要双手搬运电压互感器导致的不方便且效率低下问题,极其有利于工人手提搬运电压互感器,有效提高工作效率,具有十分出色的实用前景。


