授权公布号:CN113936898B
一种多阶梯多层屏蔽的电压互感器
有效
申请
2021-11-12
申请公布
2022-01-14
授权
2022-07-08
预估到期
2041-11-12
| 申请号 | CN202111336651.4 |
| 申请日 | 2021-11-12 |
| 申请公布号 | CN113936898A |
| 申请公布日 | 2022-01-14 |
| 授权公布号 | CN113936898B |
| 授权公告日 | 2022-07-08 |
| 分类号 | H01F27/32;H01F27/02;H01F27/23;H01F27/40;H01F27/06 |
| 分类 | 基本电气元件; |
| 申请人名称 | 广东四会互感器厂有限公司 |
| 申请人地址 | 广东省肇庆市四会市东城街道富华路8号 |
专利法律状态
2022-07-08
授权
状态信息
授权
2022-01-14
公布
状态信息
公布
摘要
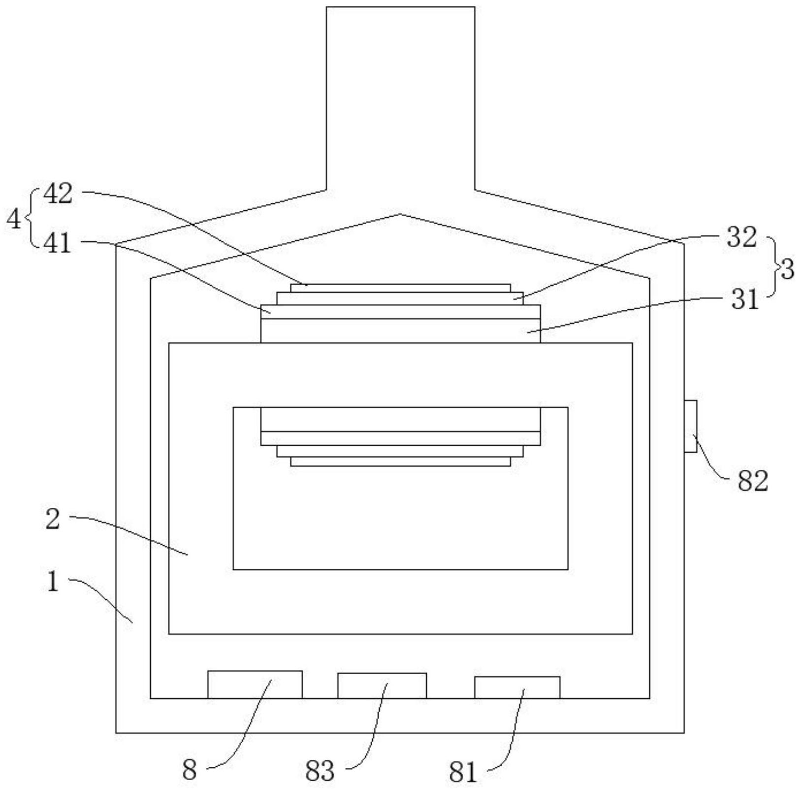
本发明提供了一种多阶梯多层屏蔽的电压互感器,包括:壳体、铁芯、线圈组件和绝缘组件,所述铁芯设置为矩形且竖直设置在所述壳体内,所述线圈组件包括第一绕组和第二绕组,所述绝缘组件包括第一绝缘层和第二绝缘层,所述第一绕组绕设在所述铁芯上,所述第二绕组绕设在所述第一绕组外侧,所述第一绝缘层固定设置在所述第一绕组和第二绕组之间,所述第二绝缘层固定设置在所述第二绕组外侧。本发明的目的在于提供一种新型电压互感器,从而解决现有技术中环氧树脂绝缘无法应对高电压下的绝缘需求的问题。


