授权公布号:CN114050034B
安全对称转换两相交流高压为三相市电电源的变压器
有效
申请
2021-11-09
申请公布
2022-02-15
授权
2022-06-07
预估到期
2041-11-09
| 申请号 | CN202111319102.6 |
| 申请日 | 2021-11-09 |
| 申请公布号 | CN114050034A |
| 申请公布日 | 2022-02-15 |
| 授权公布号 | CN114050034B |
| 授权公告日 | 2022-06-07 |
| 分类号 | H01F27/30;H01F27/26;H01F27/02;H01F27/06;H01F27/08;H01F27/24;H01F27/32;H01F30/12 |
| 分类 | 基本电气元件; |
| 申请人名称 | 广东四会互感器厂有限公司 |
| 申请人地址 | 广东省肇庆市四会市东城街道富华路8号 |
专利法律状态
2022-06-07
授权
状态信息
授权
2022-02-15
公布
状态信息
公布
摘要
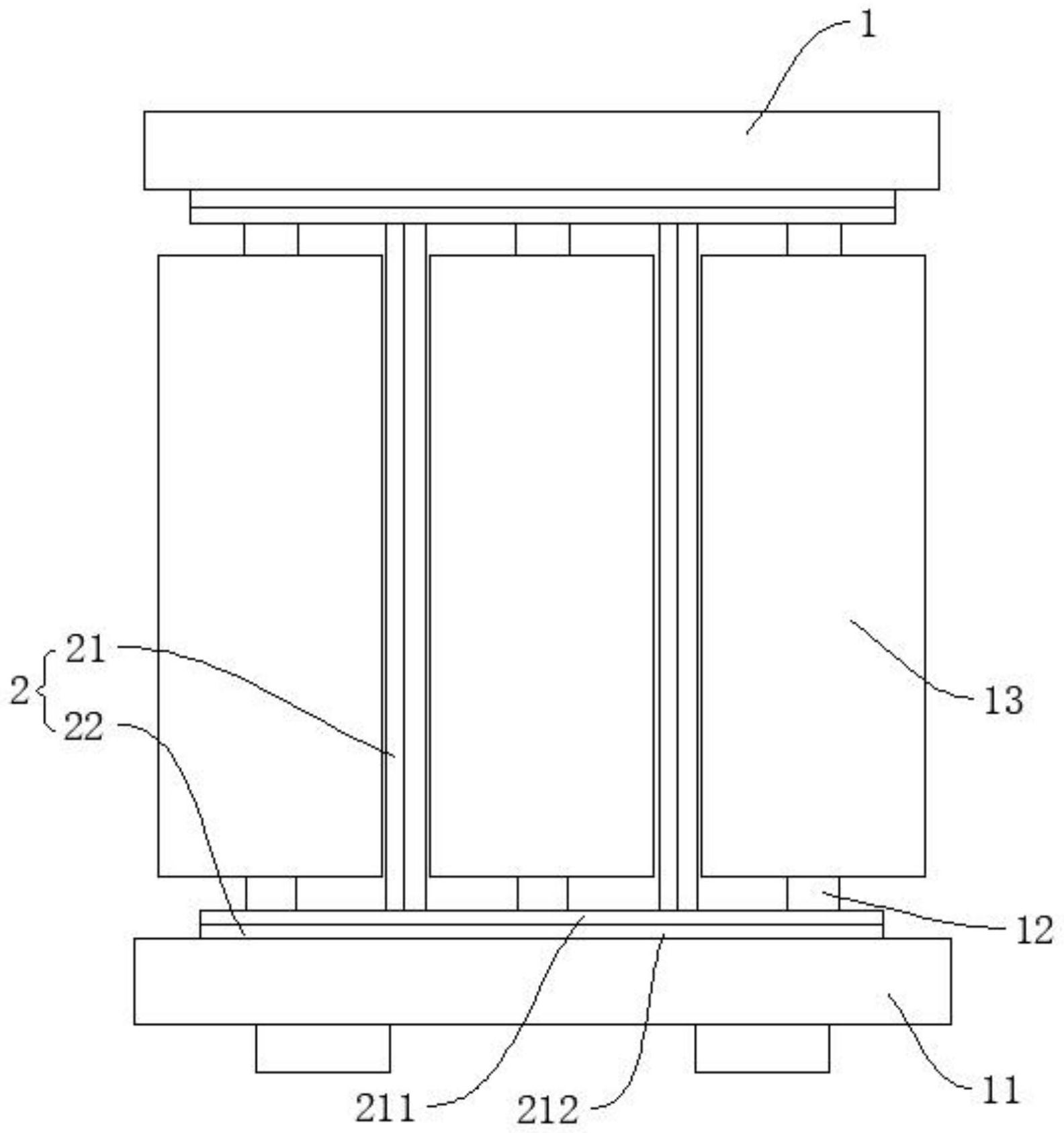
本发明提供了一种安全对称转换两相交流高压为三相市电电源的变压器,包括:上夹块、下夹块、铁芯、线圈和绝缘组件,所述线圈绕设在所述铁芯外侧,所述上夹块固定设置在所述铁芯上端,所述下夹块固定设置在所述铁芯下端,所述绝缘组件包括中间绝缘片和外侧绝缘片,所述中间绝缘片固定设置在相邻所述铁芯之间,所述外侧绝缘片固定设置在所述铁芯上下两侧。本发明的目的在于提供一种变压器,从而解决现有的油浸式变压器在某些户外环境中使用不便的问题。


