授权公布号:CN209778786U
一种固态发酵法白酒槽醅取样器
失效
申请
2018-12-25
申请公布
1970-01-01
授权
2019-12-13
预估到期
2028-12-25
| 申请号 | CN201822197910.X |
| 申请日 | 2018-12-25 |
| 授权公布号 | CN209778786U |
| 授权公告日 | 2019-12-13 |
| 分类号 | C12G3/00 |
| 分类 | 生物化学;啤酒;烈性酒;果汁酒;醋;微生物学;酶学;突变或遗传工程; |
| 申请人名称 | 北京二锅头酒业股份有限公司 |
| 申请人地址 | 北京市大兴区瀛海镇工业区兴海路2号 |
专利法律状态
2024-01-05
专利权的终止
状态信息
未缴年费专利权终止;IPC(主分类):C12G3/00;专利号:ZL201822197910X;申请日:20181225;授权公告日:20191213;终止日期:
2019-12-13
授权
状态信息
授权
摘要
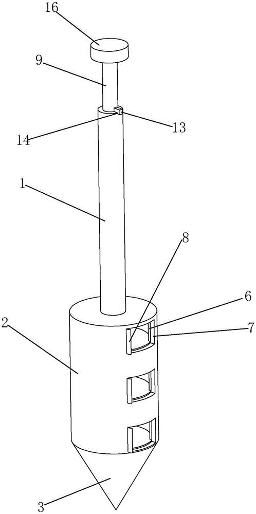
本实用新型涉及酿酒设备技术领域,更具体地说,它涉及一种固态发酵法白酒槽醅取样器,其技术方案要点是:包括锥形头和连接在锥形头一端的连杆,所述锥形头包括圆柱体和设置在圆柱体远离连杆一端的锥头,所述圆柱体轴向间隔开设有多个圆柱腔,多个所述圆柱腔内分别转动连接有圆柱形的取样盒,所述取样盒侧壁开设有取样口,所述圆柱体侧壁开设有与圆柱腔连通的进样口,所述连杆轴向活动插接有延伸至锥形头的调节组件,所述调节组件用于分别控制转动每个取样盒的取样口与进样口对应打开取样或错位关闭。本实用新型的一种固态发酵法白酒槽醅取样器具有提高取样效率的优点。


