授权公布号:CN111823113B
一种垃圾焚烧炉用管加工用除锈装置
有效
申请
2020-07-27
申请公布
2020-10-27
授权
2022-01-28
预估到期
2040-07-27
| 申请号 | CN202010727203.6 |
| 申请日 | 2020-07-27 |
| 申请公布号 | CN111823113A |
| 申请公布日 | 2020-10-27 |
| 授权公布号 | CN111823113B |
| 授权公告日 | 2022-01-28 |
| 分类号 | B24B27/033;B24B41/02;B24B47/12;B24B55/12;B24B41/04;B24B41/06;B08B1/02 |
| 分类 | 磨削;抛光; |
| 申请人名称 | 博瑞特热能设备股份有限公司 |
| 申请人地址 | 安徽省宣城市宣州区工业园区 |
专利法律状态
2022-01-28
授权
状态信息
授权
2020-10-27
公布
状态信息
公布
摘要
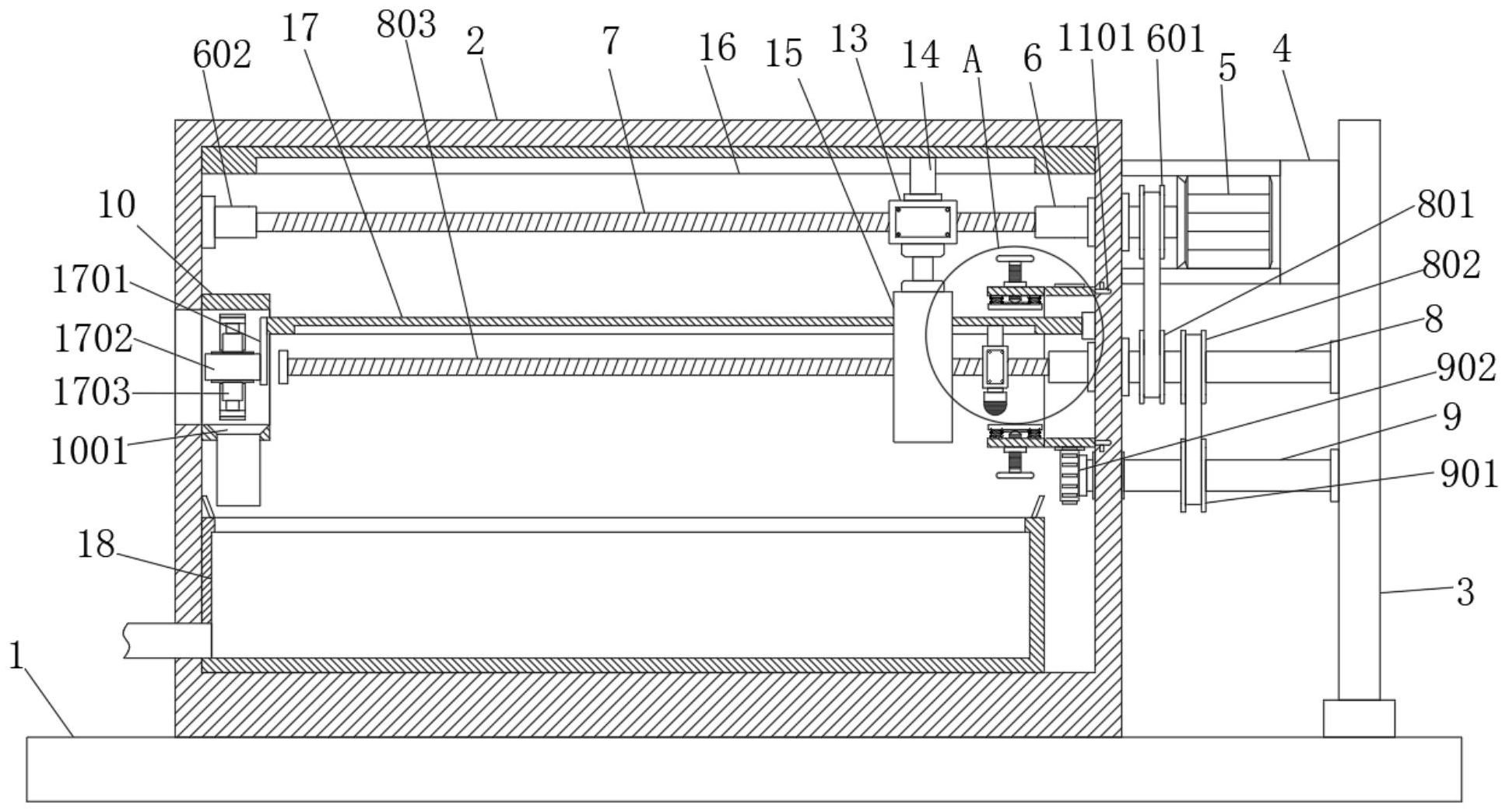
本发明涉及钢管除锈技术领域,具体涉及一种垃圾焚烧炉用管加工用除锈装置,包括底座,所述底座的顶部固定有除锈框主体,所述除锈框主体内腔的顶部固定有第一限位导轨,所述底座的顶部且位于除锈框主体右侧的位置处固定有侧固定板,所述侧固定板左侧的顶部固定有固定架;本发明通过设计的驱动电机、第一转杆、第二转杆、第三转杆、第一丝杆、第二滑体和除锈筒等结构的设计,能够有效的使得该设计方案具备结构简单,使用方便且对管道的除锈效果好的特点,能够通过除锈筒在需要除锈的管道上来回滑动,并通过配合除锈筒内部的除锈齿,从而能够有效的去除松动或翘起的氧化皮、铁锈和焊渣等杂质。


