授权公布号:CN208408831U
圆盘切割装置
有效
申请
2018-03-23
申请公布
1970-01-01
授权
2019-01-22
预估到期
2028-03-23
| 申请号 | CN201820406902.9 |
| 申请日 | 2018-03-23 |
| 授权公布号 | CN208408831U |
| 授权公告日 | 2019-01-22 |
| 分类号 | B23K7/00;B23K7/10 |
| 分类 | 机床;不包含在其他类目中的金属加工; |
| 申请人名称 | 博瑞特热能设备股份有限公司 |
| 申请人地址 | 安徽省宣城市宣州区工业园区 |
专利法律状态
2019-01-22
授权
状态信息
授权
摘要
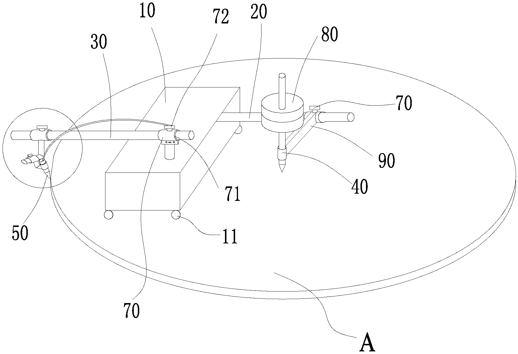
本实用新型涉及金属切割领域,具体涉及一种圆盘切割装置;包括切割机机箱,切割机机箱的下部设置万向轮与待切割圆盘A的板面构成滚动配合,切割机机箱上连有第一、二两根杆件,第一、二两根杆件的延伸方向相背,第一杆件里端与立轴相连,立轴与待切割圆盘A之间同芯布置,第二杆件的悬置端通过关节机构与气割枪相连,切割机机箱连通所连的第一、二两根杆件以立轴的轴芯为回转中心转动;本实用新型提供的圆盘切割装置能用于切割边缘为坡口状的圆盘,且切割半径和角度可调节。


