授权公布号:CN214994428U
一种负压抽吸马桶
有效
申请
2021-04-06
申请公布
1970-01-01
授权
2021-12-03
预估到期
2031-04-06
| 申请号 | CN202120689195.0 |
| 申请日 | 2021-04-06 |
| 授权公布号 | CN214994428U |
| 授权公告日 | 2021-12-03 |
| 分类号 | E03D11/18 |
| 分类 | 给水;排水; |
| 申请人名称 | 广东非凡实业有限公司 |
| 申请人地址 | 广东省潮州市潮安区古巷镇孚中工业区 |
专利法律状态
2021-12-03
授权
状态信息
授权
摘要
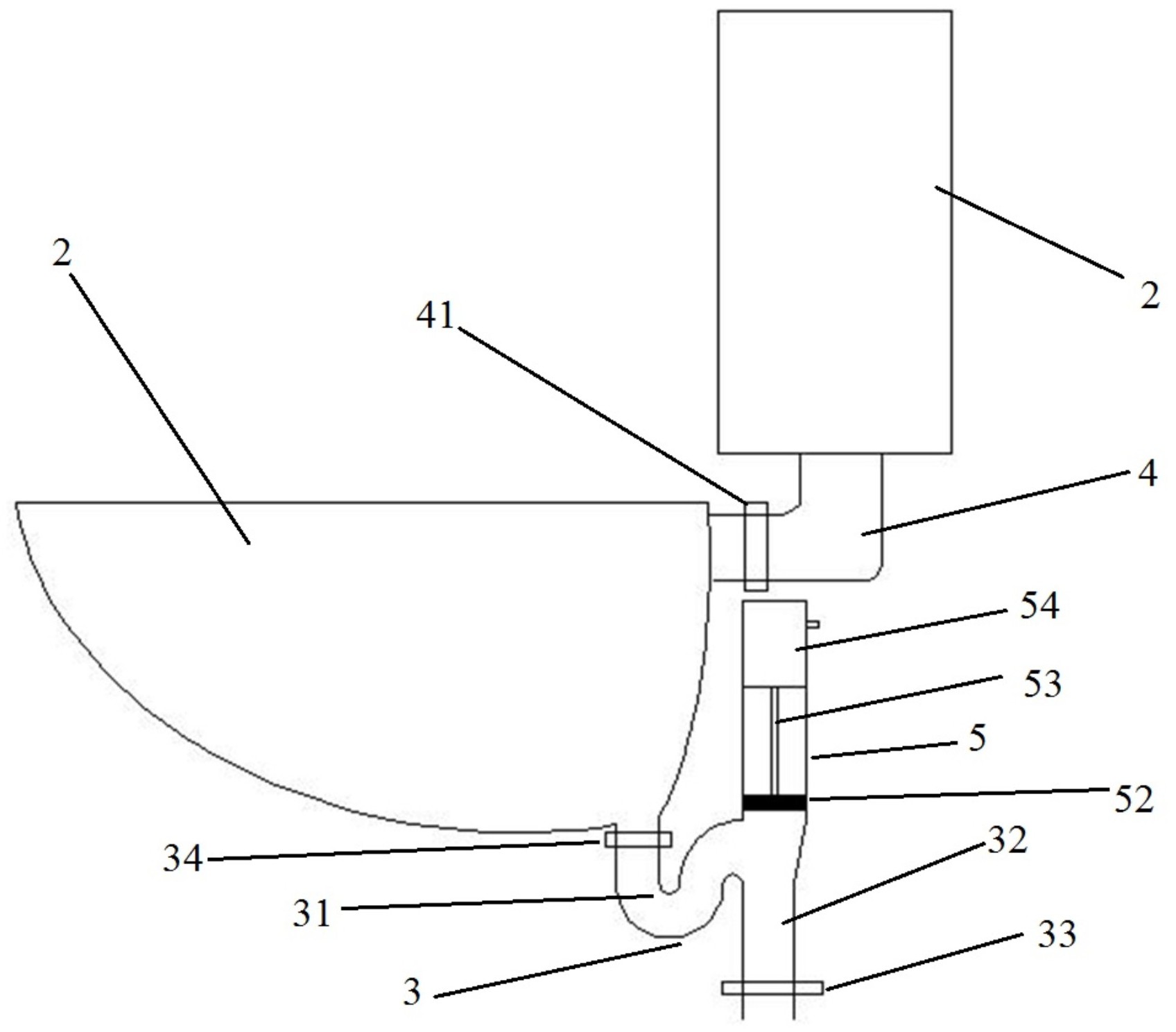
本实用新型涉及卫浴设备技术领域,具体属于一种负压抽吸马桶,从左到右包括桶体与蓄水桶,还设置有s型弯管、喷水管与负压抽吸装置,所述喷水管设置在桶体顶部内侧,所述桶体的内部左高右低,所述桶体的底部包括有排污口,所述排污口设置在靠近蓄水桶的一侧,所述s型弯管由u型水封管与垂直向下的排污管组成,所述u型水封管的一端与桶体底部连接、另一端与排污管连接。提供的一种负压抽吸马桶,可以有效解决S形的弯管容易造成堵塞与冲洗困难的问题,减少马桶冲洗过程对水压的要求以及对蓄水桶存水量的要求。


