授权公布号:CN210841017U
一种花卉定时浇水器
有效
申请
2019-10-28
申请公布
1970-01-01
授权
2020-06-26
预估到期
2029-10-28
| 申请号 | CN201921821513.3 |
| 申请日 | 2019-10-28 |
| 授权公布号 | CN210841017U |
| 授权公告日 | 2020-06-26 |
| 分类号 | A01G27/00 |
| 分类 | 农业;林业;畜牧业;狩猎;诱捕;捕鱼; |
| 申请人名称 | 保定天威线材制造有限公司 |
| 申请人地址 | 河北省保定市新市区创业路111号 |
专利法律状态
2020-06-26
授权
状态信息
授权
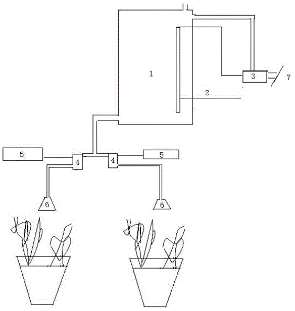
摘要
本实用新型涉及一种花卉定时浇水器,属于生活家电技术领域。技术方案是:包含水箱(1)、水位传感器(2)、进水电子阀(3)、出水电子阀(4)、时间控制器(5)、喷淋器(6)和水源(7),所述水位传感器(2)设置在水箱(1)内部,进水电子阀(3)的控制端与水位传感器(2)连接,水源(7)通过进水电子阀(3)与水箱(1)连接;时间控制器(5)与出水电子阀(4)的控制端连接,水箱(1)通过出水电子阀(4)与喷淋器(6)连接。本实用新型的有益效果是:通过水位传感器、时间控制器和电子阀在喷淋装置上的应用,不需要人工时刻关注,任意设置浇水时间和周期,简洁方便实用。


