授权公布号:CN210763566U
一种恒张力放线刹车装置
有效
申请
2019-10-28
申请公布
1970-01-01
授权
2020-06-16
预估到期
2029-10-28
| 申请号 | CN201921821509.7 |
| 申请日 | 2019-10-28 |
| 授权公布号 | CN210763566U |
| 授权公告日 | 2020-06-16 |
| 分类号 | B65H49/20 |
| 分类 | 输送;包装;贮存;搬运薄的或细丝状材料; |
| 申请人名称 | 保定天威线材制造有限公司 |
| 申请人地址 | 河北省保定市新市区创业路111号 |
专利法律状态
2020-06-16
授权
状态信息
授权
摘要
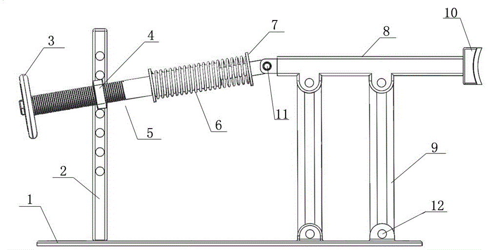
本实用新型涉及一种恒张力放线刹车装置,属于大型电力变压器用漆包绕组线生产技术领域。本实用新型的技术方案是:高度可调支撑立柱(2)设有一个以上的位置孔,可扭转螺母(4)设置在高度可调支撑立柱(2)的位置孔内;调节螺杆(5)的一端通过螺纹与可扭转螺母(4)连接,调节螺杆(5)另一端开口,内部设有与开口连通的滑道,滑杆(7)一端滑动设置在滑道内,滑杆另一端与刹车杆(8)铰接,弹簧(6)套设在调节螺杆和滑杆的外部;刹车片(10)设置在刹车杆的顶端,两根连杆的顶部均与刹车杆铰接,两根连杆的底部均与底座(1)铰接。本实用新型不需要空压机提供压缩空气,同时对放线线轴工装的精度要求不高,节省了大量开支。


