授权公布号:CN210763350U
一种纸包机纸盘缺纸报警装置
有效
申请
2019-10-28
申请公布
1970-01-01
授权
2020-06-16
预估到期
2029-10-28
| 申请号 | CN201921822450.3 |
| 申请日 | 2019-10-28 |
| 授权公布号 | CN210763350U |
| 授权公告日 | 2020-06-16 |
| 分类号 | B65H16/00 |
| 分类 | 输送;包装;贮存;搬运薄的或细丝状材料; |
| 申请人名称 | 保定天威线材制造有限公司 |
| 申请人地址 | 河北省保定市新市区创业路111号 |
专利法律状态
2020-06-16
授权
状态信息
授权
摘要
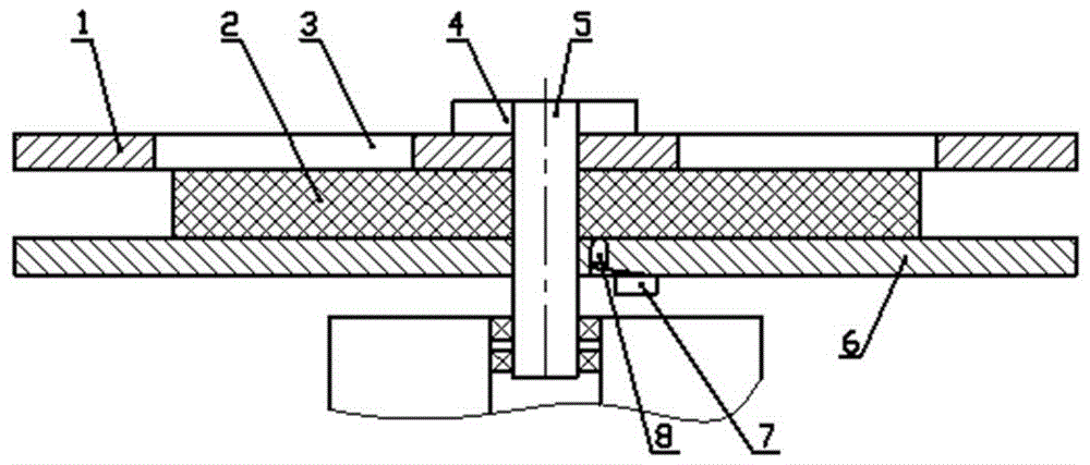
本实用新型涉及一种纸包机纸盘缺纸报警装置,属于纸包线生产检测设备技术领域。技术方案是:绕包纸带(2)设置在压纸盘(1)和托纸盘(6)之间组成纸盘,纸盘整体安装在旋转轴(5)上,纸盘压紧后由锁母(4)锁紧在旋转轴(5)上;微动开关(7)设置在托纸盘(6)的下方,球形触头(8)与微动开关(7)连接,球形触头(8)设置在托纸盘(6)内,绕包纸带(2)压在球形触头(8)上。本实用新型的有益效果是:通过在托纸盘上加装包含微动开关和球形触头的纸盘纸带存量检测装置,减少了无效的开门观察次数,提高了工作效率,该报警装置使用后使得纸带的利用率得到很大提高,减少了浪费,节约了生产成本。


