授权公布号:CN216175399U
一种生产电磁线裸导体用拉丝机乳液的处理装置
有效
申请
2021-10-28
申请公布
1970-01-01
授权
2022-04-05
预估到期
2031-10-28
| 申请号 | CN202122608779.3 |
| 申请日 | 2021-10-28 |
| 授权公布号 | CN216175399U |
| 授权公告日 | 2022-04-05 |
| 分类号 | B21C9/00;B21C1/04;B01D29/03 |
| 分类 | 基本上无切削的金属机械加工;金属冲压; |
| 申请人名称 | 保定天威线材制造有限公司 |
| 申请人地址 | 河北省保定市创业路111号 |
专利法律状态
2022-04-05
授权
状态信息
授权
摘要
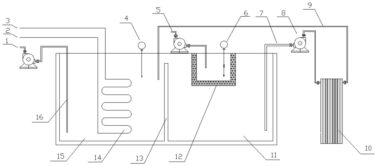
本实用新型涉及一种生产电磁线裸导体用拉丝机乳液的处理装置,属于电磁线裸导体拉拔技术领域。技术方案:生产电磁线裸导体生产线使用过的拉丝机乳液进入预过滤网箱(12)后再进入回流乳液收集箱(11);回流乳液收集箱通过预过滤乳液吸出管道(7)和乳液过滤泵(8)与过滤器(10)进口连接,过滤器出口通过干净乳液管道(9)连接过滤后乳液收集箱。本实用新型对成品模具、拉丝鼓轮使用的乳液进行单独循环处理,避免过桥部分产生的大量热量及铜粉进入共同使用的乳液对成品部分的影响;在提升裸导线表面质量的同时还延长模具的使用寿命,减少更换乳液的更换数量及频次,过桥部分循环使用的乳液可延长更换周期,降低乳液投入成本。


