授权公布号:CN109115599B
一种用于漆包电磁线导线组粘合强度试验的压紧装置及方法
有效
申请
2018-10-16
申请公布
2019-01-01
授权
2023-09-05
预估到期
2038-10-16
| 申请号 | CN201811200293.2 |
| 申请日 | 2018-10-16 |
| 申请公布号 | CN109115599A |
| 申请公布日 | 2019-01-01 |
| 授权公布号 | CN109115599B |
| 授权公告日 | 2023-09-05 |
| 分类号 | G01N3/04 |
| 分类 | 测量;测试; |
| 申请人名称 | 保定天威线材制造有限公司 |
| 申请人地址 | 河北省保定市新市区创业路111号 |
专利法律状态
2023-09-05
授权
状态信息
授权
2019-01-25
实质审查的生效
状态信息
实质审查的生效;IPC(主分类):G01N3/04;申请日:20181016
2019-01-01
公布
状态信息
公布
摘要
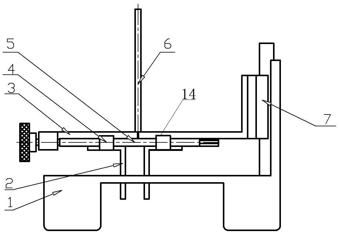
本发明涉及一种用于漆包电磁线导线组粘合强度试验的压紧装置及方法,属于变压器绕组线生产检验方法技术领域。技术方案是:在加热保温过程中,漆包电磁线导线组(15)在砝码盘的重力和夹紧模板组(2)的夹紧力作用下,对漆包电磁线导线组进行横向和纵向的压紧;漆包电磁线导线组加热保温完成后,反方向旋转手轮(8),位于丝杠(5)左半部的丝杠调整座一(4)随正螺纹向左移动,位于丝杠右半部的丝杠调整座二(14)随反螺纹向右移动,带动夹紧模板组将漆包电磁线导线组松开,将压板(3)抬高,取出漆包电磁线导线组。本发明有效防止漆包电磁线导线组在预热保温过程中出现错位及侧弯现象,保证了试验的正常进行,同时极大提高了试验效率。


