授权公布号:CN210489424U
一种用于小节距换位导线打制的挡块装置
有效
申请
2019-10-28
申请公布
1970-01-01
授权
2020-05-08
预估到期
2029-10-28
| 申请号 | CN201921821547.2 |
| 申请日 | 2019-10-28 |
| 授权公布号 | CN210489424U |
| 授权公告日 | 2020-05-08 |
| 分类号 | H01F41/04 |
| 分类 | 基本电气元件; |
| 申请人名称 | 保定天威线材制造有限公司 |
| 申请人地址 | 河北省保定市新市区创业路111号 |
专利法律状态
2020-05-08
授权
状态信息
授权
摘要
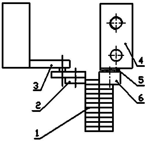
本实用新型涉及一种用于小节距换位导线打制的挡块装置,属于变压器绕组线生产设备技术领域。技术方案是:挡指(5)通过固定螺钉(7)安装在挡指架(4)上,滚针轴承(6)安装在挡指(5)端头;挡指架(4)通过定位销(8)和连接螺钉(9)安装在换位头上;挡指架(4)、挡指(5)和滚针轴承(6)组成挡块单元;偏心打轮组件(2)和打轮架(3)组成打块单元,通过连接件安装在换位头上;换位导线(1)位于偏心打轮组件(2)和滚针轴承(6)之间。本实用新型降低对漆膜的摩擦力,减少漆膜损伤,从而保证换位导线的产品质量。


