授权公布号:CN207206487U
一种剃须刀
失效
申请
2017-03-13
申请公布
1970-01-01
授权
2018-04-10
预估到期
2027-03-13
| 申请号 | CN201720280681.0 |
| 申请日 | 2017-03-13 |
| 授权公布号 | CN207206487U |
| 授权公告日 | 2018-04-10 |
| 分类号 | B26B19/48 |
| 分类 | 手动切割工具;切割;切断; |
| 申请人名称 | 浙江日峰电器有限公司 |
| 申请人地址 | 浙江省温州市鹿城轻工产业园区渔藤路258号 |
专利法律状态
2021-03-02
专利权的终止
状态信息
未缴年费专利权终止;IPC(主分类):B26B 19/48;专利号:ZL2017202806810;申请日:20170313;授权公告日:20180410;终止日期:20200313
2018-04-10
实用新型专利权授予
状态信息
授权
摘要
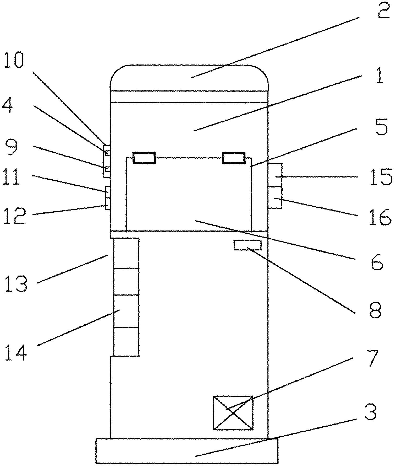
本实用新型涉及一种剃须刀。主要解决了剃须刀不便寻找的问题。包括控制芯片、喇叭、音量控制键、蓝牙指示灯、智能终端和蓝牙收发端,蓝牙收发端、电源和喇叭均与控制芯片电性连接,蓝牙指示灯和智能终端与蓝牙收发端连接,剃须刀本体上设置有凹槽,所述的凹槽上侧铰接有端盖,端盖内侧黏贴有镜子,剃须刀本体上设有二维码,二维码信息存储于计算机网络系统数据库中,凹槽下方设有电子表。该剃须刀能够通过智能终端控制剃须刀上的喇叭发出声音来提示大概位置,方便剃须刀的进一步寻找,而且剃须刀上兼备镜子、暗格、电子表等实用性工具,具有功能齐全,结构紧凑,使用方便等优点。


