授权公布号:CN220175102U
一种带握姿检测的体脂称
有效
申请
2023-05-04
申请公布
1970-01-01
授权
2023-12-15
预估到期
2033-05-04
| 申请号 | CN202321045255.0 |
| 申请日 | 2023-05-04 |
| 授权公布号 | CN220175102U |
| 授权公告日 | 2023-12-15 |
| 分类号 | A61B5/0537;G01G19/50;A61B5/00 |
| 分类 | 医学或兽医学;卫生学; |
| 申请人名称 | 广东沃莱科技有限公司 |
| 申请人地址 | 广东省中山市石岐区东河北中山民营科技园85号(B幢二层) |
专利法律状态
2023-12-15
授权
状态信息
授权
摘要
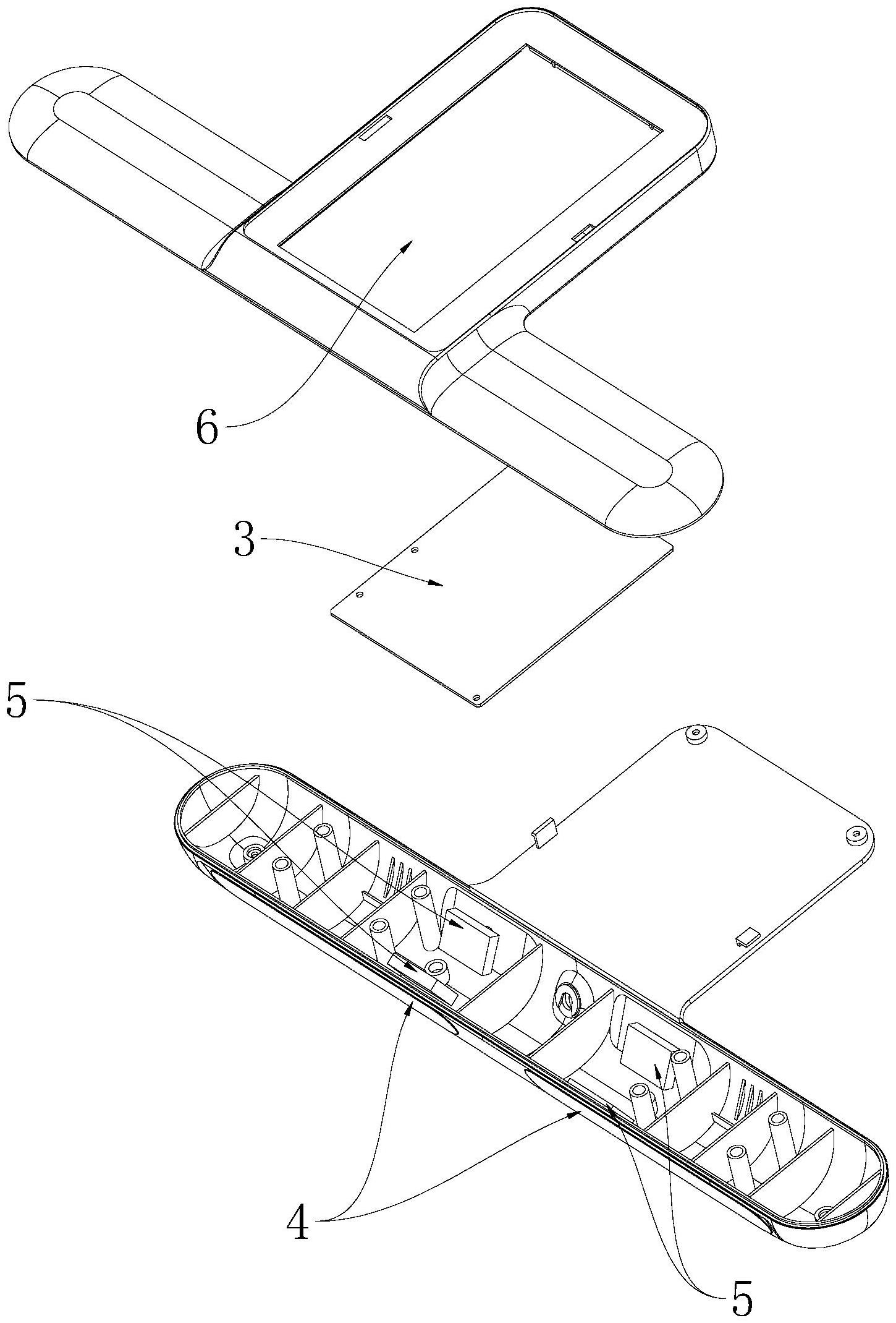
本申请涉及一种带握姿检测的体脂称,包括体脂称本体和感应器,所述体脂称本体上设有手柄和控制器,所述手柄侧壁上设有电极片,所述感应器设置在所述手柄内并与所述控制器电连接的感应器,所述感应器用于感应手部是否与电极片接触。用户在使用体脂称时,将手放置在电极片上并握持手柄,用户的手部与电极片接触,所述感应器能检测到手部与电极片接触;当感应器检测到手部与电极片接触时,所述体脂称进行称重,有利于保证称量准确性。


