授权公布号:CN218953671U
一种适用于容器简便无损安装的防旋流装置
有效
申请
2022-11-24
申请公布
1970-01-01
授权
2023-05-02
预估到期
2032-11-24
| 申请号 | CN202223128727.7 |
| 申请日 | 2022-11-24 |
| 授权公布号 | CN218953671U |
| 授权公告日 | 2023-05-02 |
| 分类号 | F04D29/66 |
| 分类 | 液体变容式机械;液体泵或弹性流体泵; |
| 申请人名称 | 湖北三宁化工股份有限公司 |
| 申请人地址 | 湖北省宜昌市枝江市姚家港沿江路9号 |
专利法律状态
2023-05-02
授权
状态信息
授权
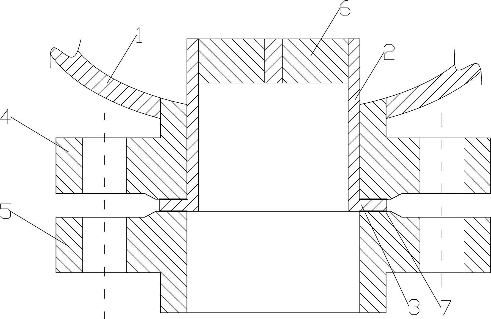
摘要
本实用新型提供一种适用于容器简便无损安装的防旋流装置,包括伸入容器本体底部液相出口的筒体,筒体下端设有密封板,密封板设置在容器本体法兰和管道法兰之间,容器本体法兰和管道法兰通过螺栓连接,筒体上端内设有防旋流机构。该装置不改变容器本身结构,能够起到容器液相出口防旋流的作用。


