授权公布号:CN210512172U
两用全凝式醇基采暖热水炉
有效
申请
2019-05-31
申请公布
1970-01-01
授权
2020-05-12
预估到期
2029-05-31
| 申请号 | CN201920813103.8 |
| 申请日 | 2019-05-31 |
| 授权公布号 | CN210512172U |
| 授权公告日 | 2020-05-12 |
| 分类号 | F24H8/00;F24H1/14;F28D7/10;F24H9/18;F24H1/48 |
| 分类 | 供热;炉灶;通风; |
| 申请人名称 | 石家庄工大化工设备有限公司 |
| 申请人地址 | 河北省石家庄市和平东路500号 |
专利法律状态
2020-05-12
授权
状态信息
授权
摘要
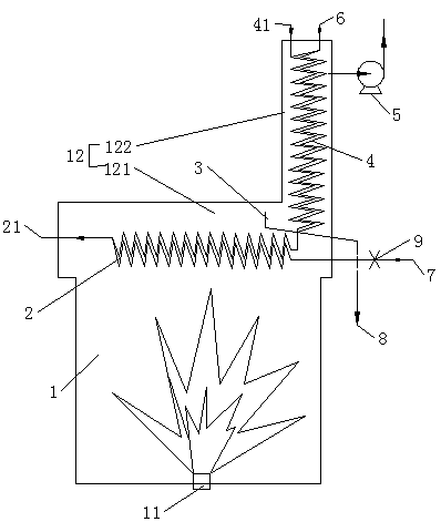
本实用新型涉及两用全凝式醇基采暖热水炉,属于热水炉的技术领域,其包括箱体以及设置在箱体内燃烧器,所述箱体的上方安装有同加热腔连通的集气罩,所述集气罩内固定安装第一加热管和第二加热管,所述第一加热管和第二加热管均为盘状,所述第一加热管和第二加热管连通构成加热装置,所述第一加热管和第二加热管均为套管结构,所述加热装置设置进水口和出水口,所述集气罩内设置用于收集冷凝水的冷凝水收集装置。本实用新型具有提高热水炉在卫浴模式下热效率的效果。


