授权公布号:CN214147994U
一种新型壁挂炉点火装置
有效
申请
2020-11-05
申请公布
1970-01-01
授权
2021-09-07
预估到期
2030-11-05
| 申请号 | CN202022524426.0 |
| 申请日 | 2020-11-05 |
| 授权公布号 | CN214147994U |
| 授权公告日 | 2021-09-07 |
| 分类号 | F23Q3/00 |
| 分类 | 燃烧设备;燃烧方法; |
| 申请人名称 | 石家庄工大化工设备有限公司 |
| 申请人地址 | 河北省石家庄市和平东路500号 |
专利法律状态
2021-09-07
授权
状态信息
授权
摘要
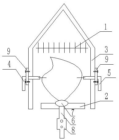
本实用新型公开了一种新型壁挂炉点火装置,包括设置于主换热器下方的燃烧器和分别固定设置于燃烧罩两侧壁上的点火针和感应针,所述燃烧器的下方设置有燃料管,所述燃料管上方与燃烧器上设置的喷嘴连接、下方与燃料泵串联连接且燃料泵由燃料泵继电器控制,所述点火针、感应针和燃料泵继电器分别电性连接控制中心,本实用新型通过在保留了喷嘴向上喷雾这种简单的结构,通过改变甲醇点火针和感应针的位置,解决了冬季甲醇不好点燃、感应不到火焰的技术问题。


