授权公布号:CN210511809U
一种醇基燃料采暖炉一体机
有效
申请
2019-05-31
申请公布
1970-01-01
授权
2020-05-12
预估到期
2029-05-31
| 申请号 | CN201920814504.5 |
| 申请日 | 2019-05-31 |
| 授权公布号 | CN210511809U |
| 授权公告日 | 2020-05-12 |
| 分类号 | F24C13/00;F24C5/18;F24D19/10;F24D15/02 |
| 分类 | 供热;炉灶;通风; |
| 申请人名称 | 石家庄工大化工设备有限公司 |
| 申请人地址 | 河北省石家庄市和平东路500号 |
专利法律状态
2020-05-12
授权
状态信息
授权
摘要
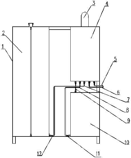
本实用新型公开了一种醇基燃料采暖炉一体机,属于采暖设备技术领域,燃料箱、壁挂炉及补水箱集成在同一箱体内;燃料箱设置在箱体左侧,壁挂炉及补水箱设置在箱体右侧,壁挂炉设置在补水箱上方,壁挂炉顶部设置有伸出箱体顶部且向箱体后侧弯曲的烟囱;壁挂炉底部通过暖气回水管路及暖气出水管路与外接的暖气散热片连接,壁挂炉底部通过燃料管连接燃料箱的底部,壁挂炉底部通过进水管连接补水箱的底部,壁挂炉底部通过出水管连接补水箱的顶部;补水箱底部与进水管连接处设置有水泵;燃料箱底部与燃料管连接处设置有燃料泵。本实用新型提供的醇基燃料采暖炉一体机,解决了普通的醇基壁挂炉安装使用复杂及农村自来水供应不足的问题。


