授权公布号:CN219071227U
一种防呛水的手动洗鼻瓶
有效
申请
2022-12-06
申请公布
1970-01-01
授权
2023-05-26
预估到期
2032-12-06
| 申请号 | CN202223279712.0 |
| 申请日 | 2022-12-06 |
| 授权公布号 | CN219071227U |
| 授权公告日 | 2023-05-26 |
| 分类号 | A61H35/04 |
| 分类 | 医学或兽医学;卫生学; |
| 申请人名称 | 广州纽得赛生物科技有限公司 |
| 申请人地址 | 广东省广州市海珠区赤岗西路265号1号楼自编101室 |
专利法律状态
2023-05-26
授权
状态信息
授权
摘要
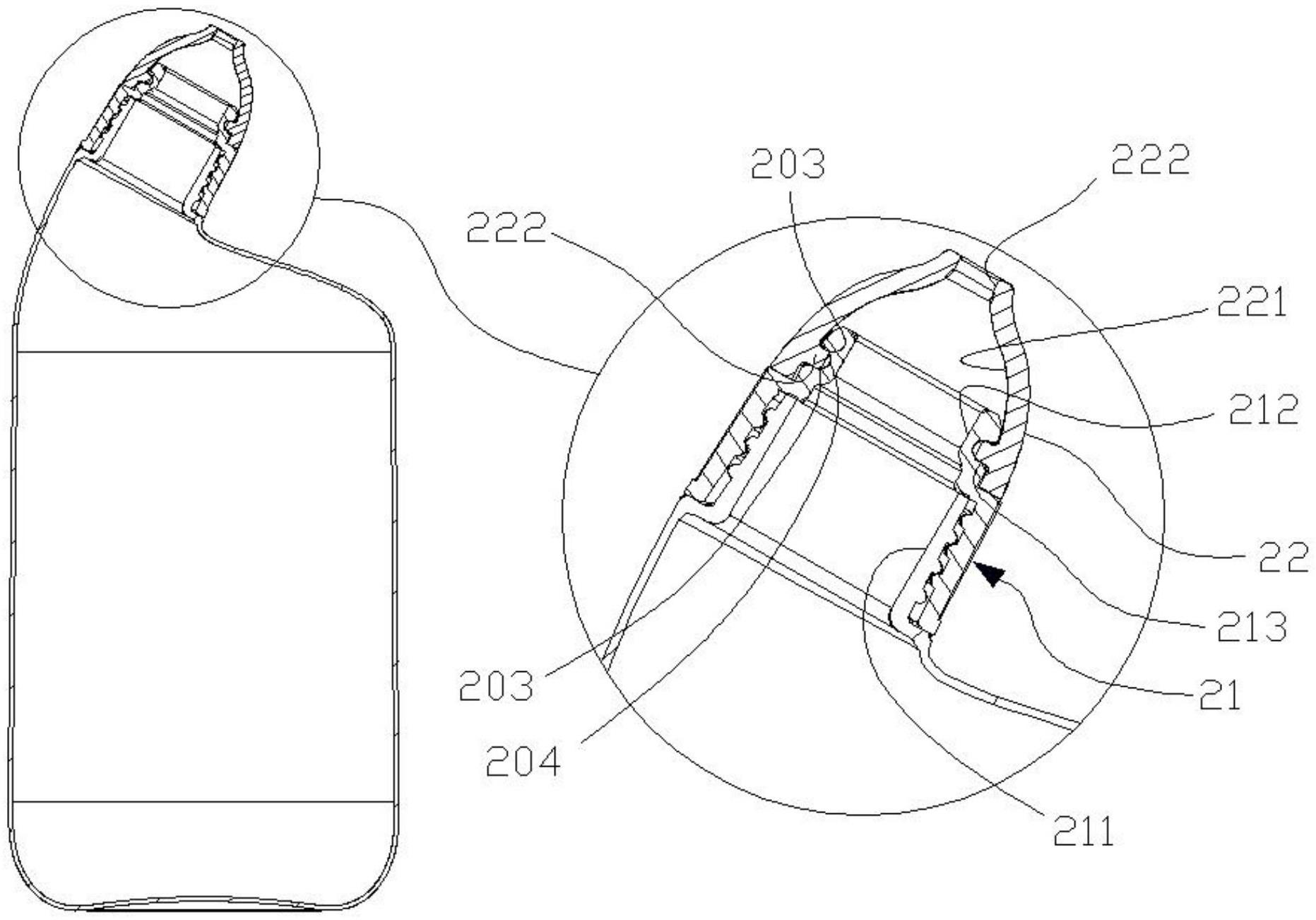
本实用新型公开了一种防呛水的手动洗鼻瓶,包括洗鼻瓶瓶体及喷头单元,洗鼻瓶瓶体在其顶端形成有供喷头单元安装的瓶嘴,喷头单元包括喷头管及喷头盖,喷头管的一端为连接端,另一端为出液端,连接端形成有与瓶嘴对应安装的安装腔,出液端形成有与安装腔连通的出液道;出液端在其外壁的中部凹设有安装槽,安装槽在其与槽口对应的槽面的上部与下部各形成有一压面段以及在两段压面段之间凹设有通液槽;喷头盖形成有与出液端对应安装的装配腔以及在其顶端开设有连通装配腔的喷口,装配腔的下部腔壁上对应安装槽凸设有凸边。本实用新型能够水流沿通液间隙对外排出,防止水流大量涌入鼻腔,起到防呛水的效果。


