授权公布号:CN214532402U
自动转向微型锁
有效
申请
2020-12-29
申请公布
1970-01-01
授权
2021-10-29
预估到期
2030-12-29
| 申请号 | CN202023254651.3 |
| 申请日 | 2020-12-29 |
| 授权公布号 | CN214532402U |
| 授权公告日 | 2021-10-29 |
| 分类号 | E05B65/52;E05B15/00;E05B15/10 |
| 分类 | 锁;钥匙;门窗零件;保险箱; |
| 申请人名称 | 惠州诺盾高科电子有限公司 |
| 申请人地址 | 广东省惠州市仲恺高新区仲恺二路49号6号楼三楼 |
专利法律状态
2021-10-29
授权
状态信息
授权
摘要
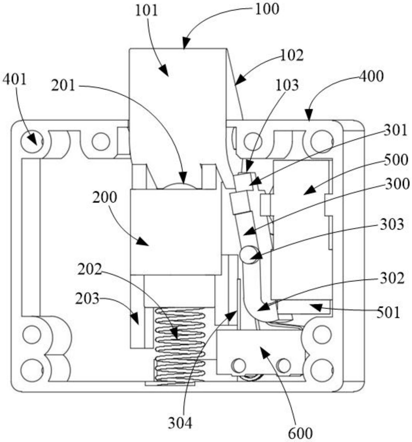
本申请是关于一种自动转向微型锁。该自动转向微型锁包括锁体,设于所述锁体内的锁舌,连接于所述锁舌的支撑件以及用于限定所述锁舌运行的锁定结构;其中,所述锁舌转动连接于所述支撑件上,所述锁舌具有沿转动方向背对设置的第一导向面及第二导向面;所述第一导向面和第二导向面用于在不同锁止状态分别引导所述锁舌收缩及翻转。本申请提供的方案,锁舌能够在推拉箱柜开关过程中自动转向,能使推拉箱柜开关过程更流畅,更省力。


