授权公布号:CN105374552B
带隔声罩的电容器
有效
申请
2015-12-17
申请公布
2016-03-02
授权
2019-07-02
预估到期
2035-12-17
| 申请号 | CN201510952966.X |
| 申请日 | 2015-12-17 |
| 申请公布号 | CN105374552A |
| 申请公布日 | 2016-03-02 |
| 授权公布号 | CN105374552B |
| 授权公告日 | 2019-07-02 |
| 分类号 | H01G2/10;H01G2/08 |
| 分类 | 基本电气元件; |
| 申请人名称 | 日新电机(无锡)有限公司 |
| 申请人地址 | 江苏省无锡市新区新华路28号 |
专利法律状态
2019-07-02
授权
状态信息
授权
2016-03-30
实质审查的生效
状态信息
实质审查的生效IPC(主分类):H01G 2/10申请日:20151217
2016-03-02
公布
状态信息
公开
摘要
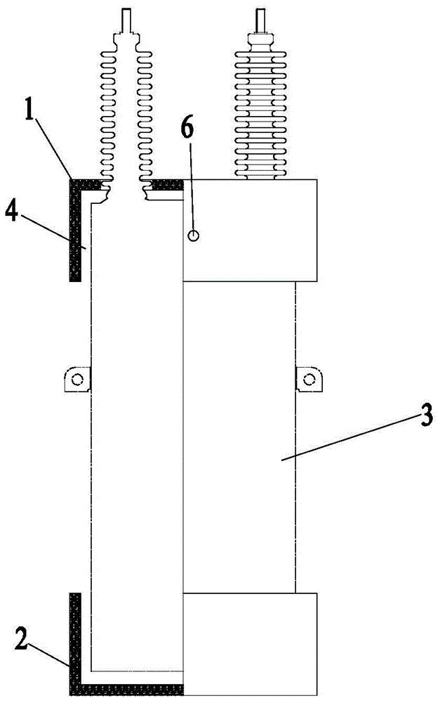
本发明属于电力设备技术领域,涉及一种带隔声罩的电容器,包括电容器本体,所述电容器本体前端设有前罩,后端设有后罩;所述前罩、后罩两者内壁与电容器本体之间分别形成空气间隙,电容器本体的套管从前罩的安装孔中穿出,所述前罩内壁设有若干条汇流槽及一个排出孔,排出孔设置于罩体表面的低点处,所述汇流槽汇集于排出孔处。该电容器不仅具有屏蔽噪音的作用,还可以做到不影响电容器的散热和日常巡视。


