授权公布号:CN217210039U
一种便于移动的单锥螺旋型真空干燥机
有效
申请
2022-01-25
申请公布
1970-01-01
授权
2022-08-16
预估到期
2032-01-25
| 申请号 | CN202220211465.1 |
| 申请日 | 2022-01-25 |
| 授权公布号 | CN217210039U |
| 授权公告日 | 2022-08-16 |
| 分类号 | F26B5/04;F26B11/14;F26B25/06;F26B25/00 |
| 分类 | 干燥; |
| 申请人名称 | 常州市震华干燥设备有限公司 |
| 申请人地址 | 江苏省常州市武进区遥观镇钱家工业集中区 |
专利法律状态
2022-08-16
授权
状态信息
授权
摘要
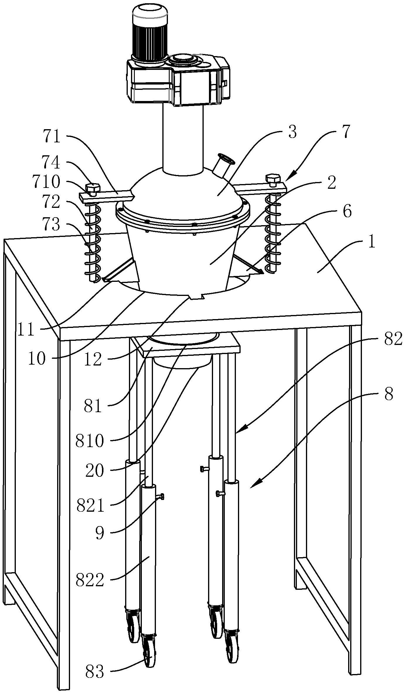
本申请涉及一种便于移动的单锥螺旋型真空干燥机,涉及真空干燥机技术领域。其包括工作台、筒体、筒盖和螺旋搅拌叶,筒体穿设工作台,筒体侧壁设置有若干抵接块,若干抵接块与工作台远离地面的一侧相抵接,筒盖设于筒体顶部开口处,用于封盖筒体,螺旋搅拌叶设于筒体内,螺旋搅拌叶中穿设有搅拌轴,搅拌轴与筒盖转动连接,工作台上贯穿设置有供抵接块穿设的连接孔,筒盖通过支撑机构与工作台相连,筒体底部设置有移动装置,移动装置包括承接板、伸缩杆和滚轮,承接板上贯穿设置有供筒体穿设的插孔,伸缩杆的一端与承接板固定连接,另一端通过滚轮与地面相连。相较于相关技术,本申请具有能够直面观测到清洗状态的效果。


