授权公布号:CN218795374U
一种便于出料的混合机
有效
申请
2022-10-21
申请公布
1970-01-01
授权
2023-04-07
预估到期
2032-10-21
| 申请号 | CN202222791672.1 |
| 申请日 | 2022-10-21 |
| 授权公布号 | CN218795374U |
| 授权公告日 | 2023-04-07 |
| 分类号 | B01F27/92;B01F35/75;B01F35/12 |
| 分类 | 一般的物理或化学的方法或装置; |
| 申请人名称 | 常州市震华干燥设备有限公司 |
| 申请人地址 | 江苏省常州市常州经济开发区遥观镇涟漪路19号 |
专利法律状态
2023-04-07
授权
状态信息
授权
摘要
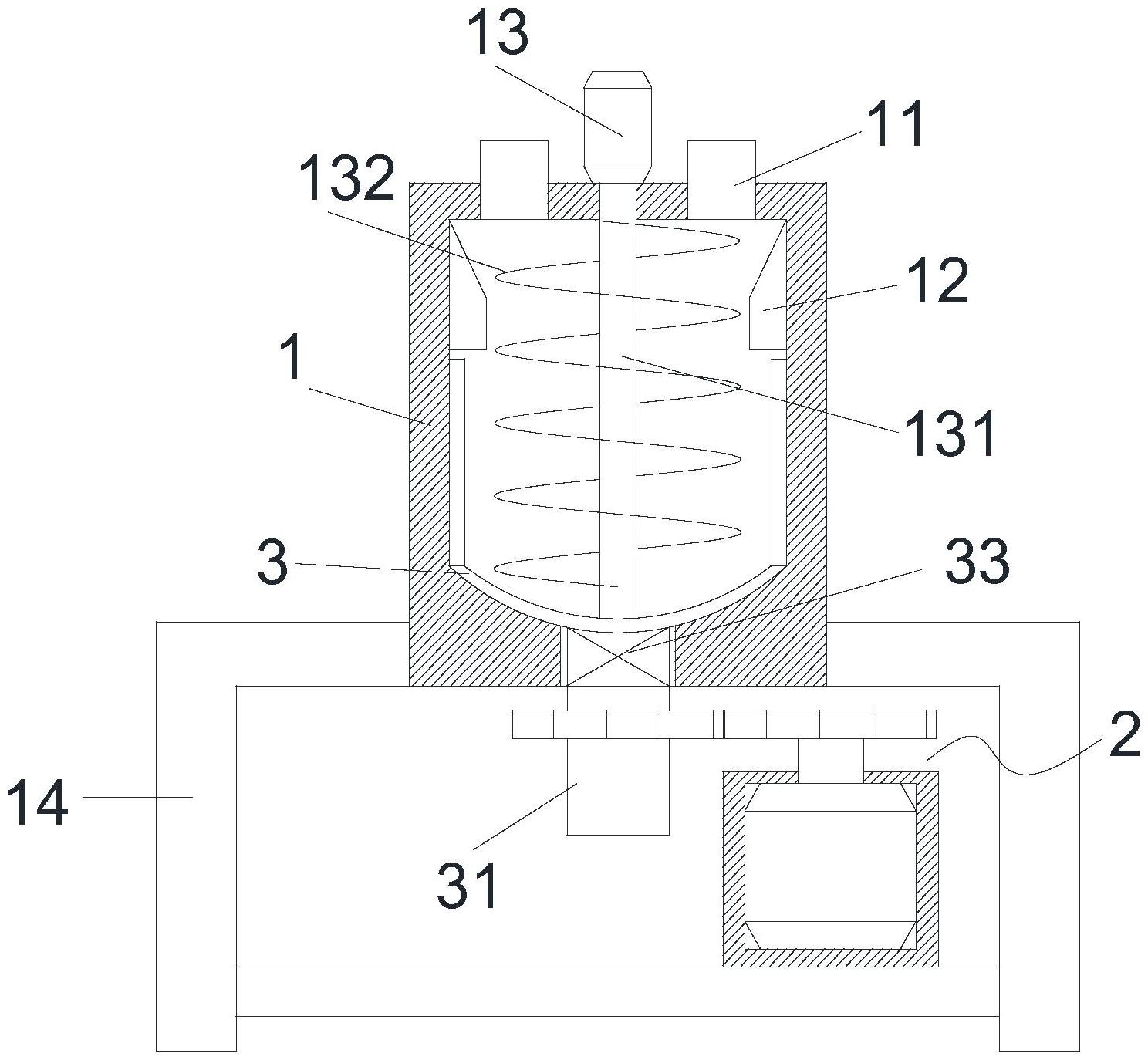
本实用新型提供一种便于出料的混合机,包括本体,所述本体上端连接有第一电机和对称连接有进料漏斗,所述电机位于进料漏斗之间,所述电机输出端连接有转轴,所述转轴贯穿本体外壁伸入至内部,所述转轴位于本体内部的外部连接有混合叶片,所述本体下端内壁连接有相契合的出料漏斗,所述出料漏斗上端连接有多个刮板,所述刮板与本体内壁接触,所述出料漏斗下端连接有出料管道,所述出料管道外部连接有控制阀;所述本体下端设有驱动装置,所述驱动装置与出料管道连接;本实用新型通过设置的出料漏斗,便于导出混合的物料,且通过驱动装置带动出料漏斗转动,出料漏斗带动刮板转动,从而对黏附在本体内壁的物料刮落,避免资源的浪费。


