授权公布号:CN216716778U
一种筒盖可拆式单锥螺旋型真空干燥机
有效
申请
2022-01-25
申请公布
1970-01-01
授权
2022-06-10
预估到期
2032-01-25
| 申请号 | CN202220207577.X |
| 申请日 | 2022-01-25 |
| 授权公布号 | CN216716778U |
| 授权公告日 | 2022-06-10 |
| 分类号 | F26B5/04;F26B11/14;F26B25/06;F26B25/00 |
| 分类 | 干燥; |
| 申请人名称 | 常州市震华干燥设备有限公司 |
| 申请人地址 | 江苏省常州市武进区遥观镇钱家工业集中区 |
专利法律状态
2022-06-10
授权
状态信息
授权
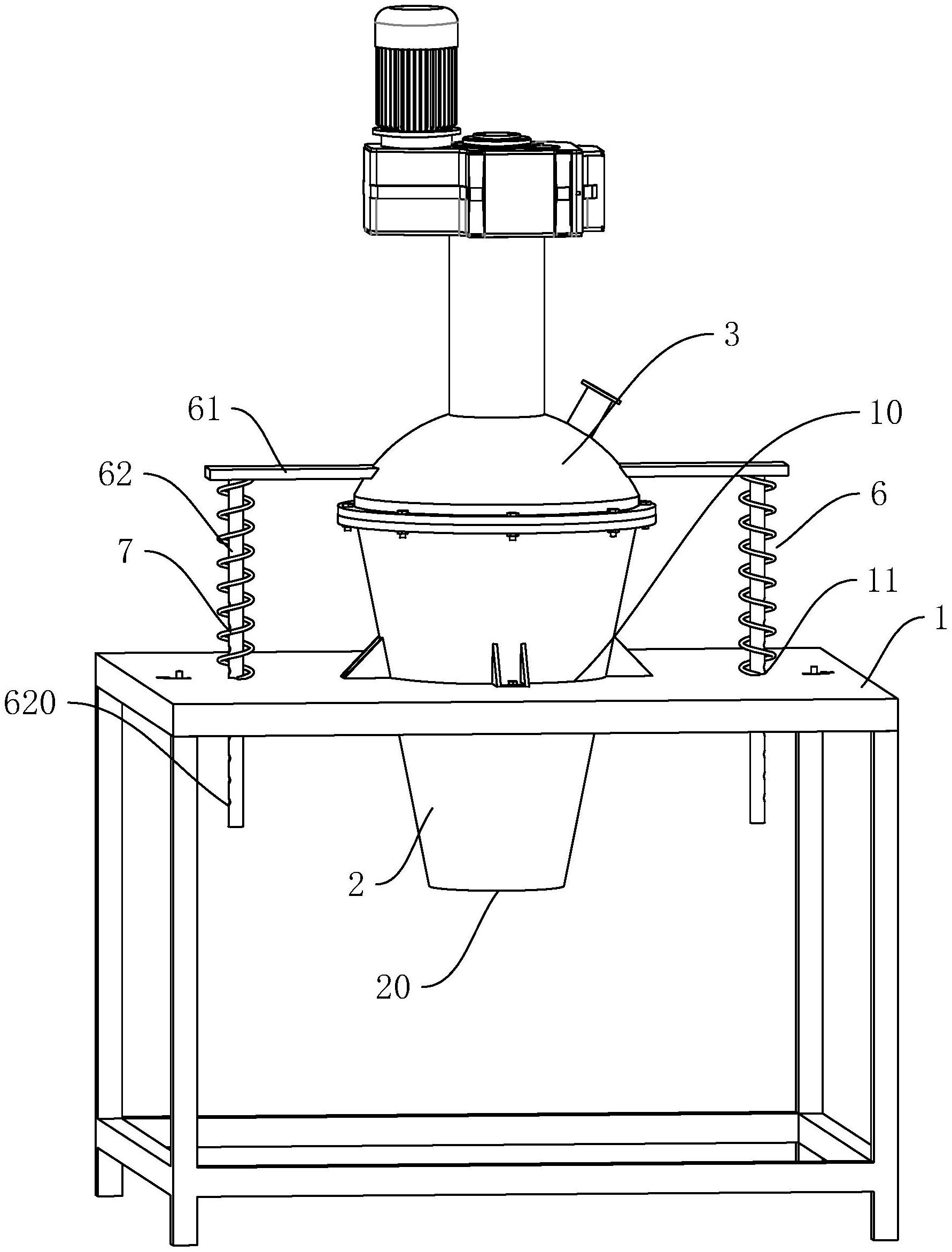
摘要
本申请涉及一种筒盖可拆式单锥螺旋型真空干燥机,涉及真空干燥机技术领域。其包括工作台、筒体、筒盖和螺旋搅拌叶,工作台上设置有供筒体固定插设的安装孔,筒体底部设置有出料口,筒盖用于封盖筒体顶部开口,螺旋搅拌叶设于筒体内,螺旋搅拌叶中穿设有搅拌轴,搅拌轴与筒盖转动连接,筒盖侧壁设置有若干支撑机构与工作台相连,支撑机构包括连接杆和支撑杆,连接杆一端与筒盖侧壁固定连接,另一端与支撑杆的端部固定连接,工作台上贯穿设置有供支撑杆穿设的支撑孔,支撑杆与工作台滑动连接,支撑孔内壁设置有锁止组件,锁止组件用于将支撑杆固定在工作台上。相较于相关技术,本申请具有能够直面的观测到清洗状态的效果。


