授权公布号:CN220131376U
一种具有调节功能的卸料机
有效
申请
2023-06-05
申请公布
1970-01-01
授权
2023-12-05
预估到期
2033-06-05
| 申请号 | CN202321397896.2 |
| 申请日 | 2023-06-05 |
| 授权公布号 | CN220131376U |
| 授权公告日 | 2023-12-05 |
| 分类号 | B65G65/23 |
| 分类 | 输送;包装;贮存;搬运薄的或细丝状材料; |
| 申请人名称 | 常州市震华干燥设备有限公司 |
| 申请人地址 | 江苏省常州市武进区经济开发区遥观镇涟漪路19号 |
专利法律状态
2023-12-05
授权
状态信息
授权
摘要
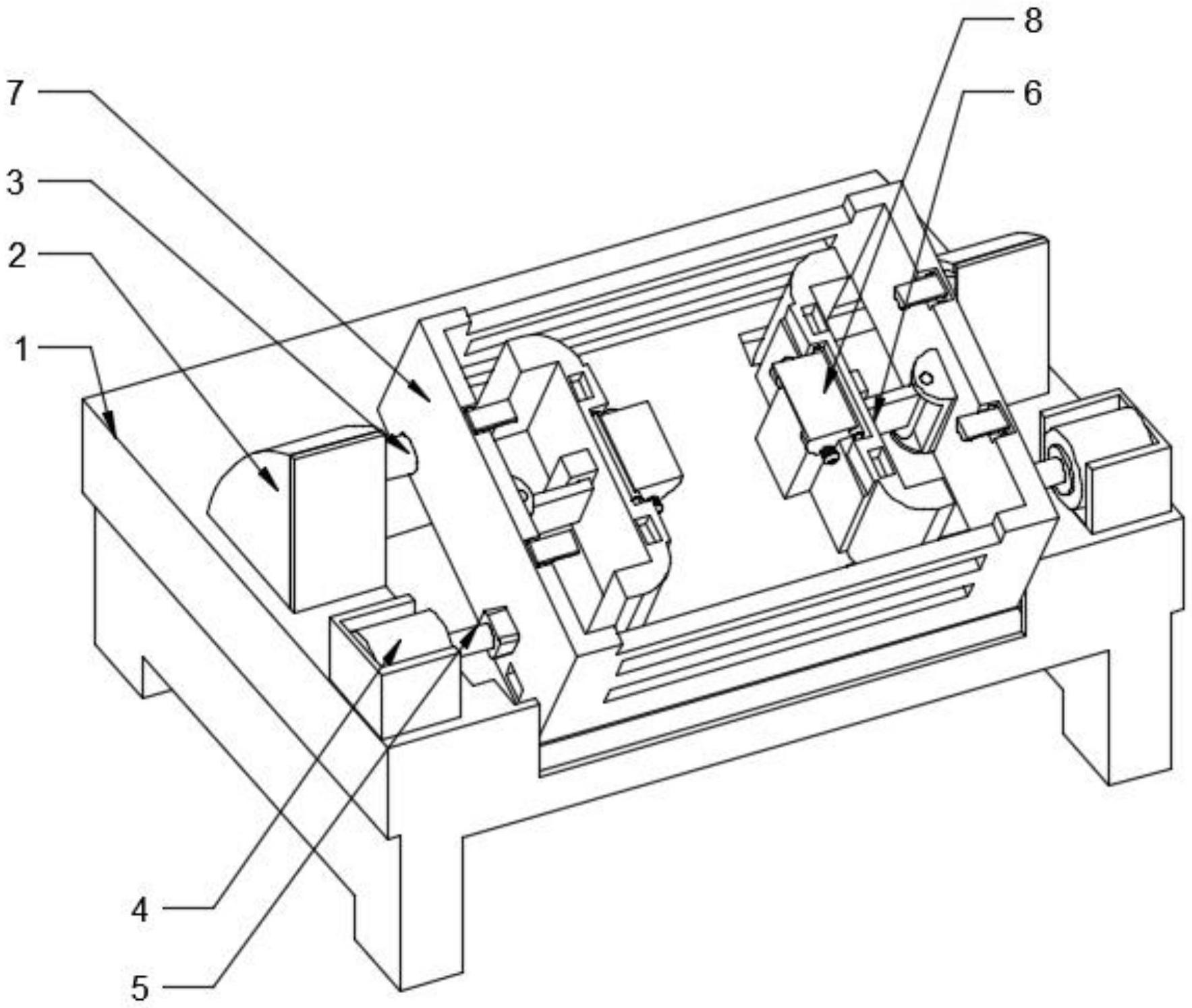
本实用新型公开了一种具有调节功能的卸料机,包括底座、电机和连杆,所述底座上表面两侧均固定连接有限位壳,两组所述限位壳内均活动连接有限位柱,两组所述限位柱之间均共同设置有转动壳,两组所述电机均设置于底座上表面两侧,两组所述连杆分别固定连接于两组电机输出端与转动壳之间,所述转动壳内壁两侧均设置有调节组件,两组所述调节组件表面均设置有定位组件。本实用新型具备当第二卡壳对吨袋进行夹持定位后,第二弹簧会拉动定位杆定位在调节板的内部,完成对吨袋的固定,在进行卸料时,启动电机,使其带动连杆和转动壳进行翻转,从而对吨袋进行卸料,达到了可以对多种不同的吨袋进行卸料的优点。


