授权公布号:CN216716779U
一种便于清洗的单锥螺旋型真空干燥机
有效
申请
2022-01-25
申请公布
1970-01-01
授权
2022-06-10
预估到期
2032-01-25
| 申请号 | CN202220212180.X |
| 申请日 | 2022-01-25 |
| 授权公布号 | CN216716779U |
| 授权公告日 | 2022-06-10 |
| 分类号 | F26B5/04;F26B11/14;F26B25/06;F26B25/00 |
| 分类 | 干燥; |
| 申请人名称 | 常州市震华干燥设备有限公司 |
| 申请人地址 | 江苏省常州市武进区遥观镇钱家工业集中区 |
专利法律状态
2022-06-10
授权
状态信息
授权
摘要
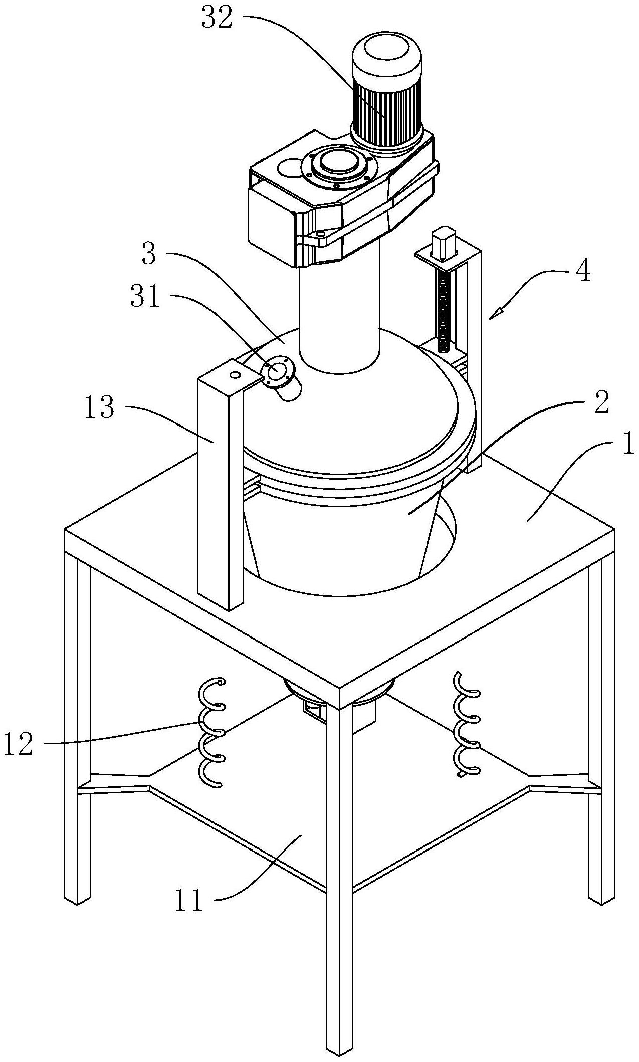
本申请涉及一种便于清洗的单锥螺旋型真空干燥机,涉及干燥设备的技术领域,包括支架、筒身以及筒盖,所述筒盖上转动连接有搅拌叶,所述筒身以及筒盖均与支架滑动连接,所述支架上设有用于驱动筒盖与筒身相背滑动的滑移机构。滑移机构驱动筒盖与筒身相背滑动,进而使得筒盖与筒身分离,便于操作人员看清楚筒身内部,提高筒身内部的清洗效果,操作方便,进而提高筒身的清洗效率。


