授权公布号:CN211837551U
筒体转动物料作三维运动的混合机
有效
申请
2020-01-02
申请公布
1970-01-01
授权
2020-11-03
预估到期
2030-01-02
| 申请号 | CN202020006807.7 |
| 申请日 | 2020-01-02 |
| 授权公布号 | CN211837551U |
| 授权公告日 | 2020-11-03 |
| 分类号 | B01F9/06;B01F15/02 |
| 分类 | 一般的物理或化学的方法或装置; |
| 申请人名称 | 常州市震华干燥设备有限公司 |
| 申请人地址 | 江苏省常州市武进区遥观镇钱家工业集中区 |
专利法律状态
2020-11-03
授权
状态信息
授权
摘要
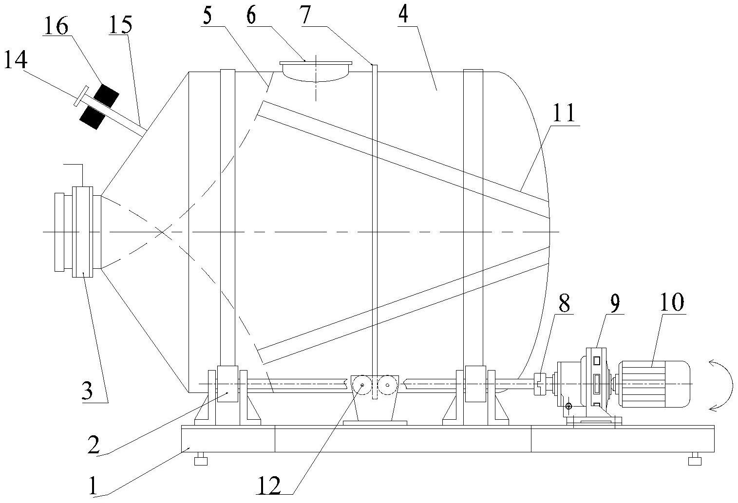
本实用新型涉及筒体转动物料作三维运动的混合机,包括底座、料筒、料筒传动装置、挡轮、挡板和出料装置,在料筒的一端装有出料装置,在料筒底部装有料筒传动装置,在料筒内设置有多组抄板,每组抄板与料筒轴线有夹角,在料筒接近出料口锥体外壁设有撞锤结构,撞锤结构包括连杆和锤体,锤体套设在连杆上并且可以以连杆轴线方向上下滑动,连杆一端固定在出料口锥体外壁,另一端设有限位片,限位片用于限制锤体脱离连杆,撞锤结构用于撞击出料口锥体外壁以达到使堆积粘结在螺旋出料板上的物料脱落;本实用新型的结构简单,使用方便,可以持续平稳运行,通过锤体撞击将一些堆积粘结在螺旋出料板上的物料脱落,大大提升了生产效率。


