授权公布号:CN214986304U
一种自动理瓶装袋机
有效
申请
2020-10-26
申请公布
1970-01-01
授权
2021-12-03
预估到期
2030-10-26
| 申请号 | CN202022403739.0 |
| 申请日 | 2020-10-26 |
| 授权公布号 | CN214986304U |
| 授权公告日 | 2021-12-03 |
| 分类号 | B65B21/04;B65B21/14;B65B57/20;B65B61/00;B65B51/14;B65B43/26 |
| 分类 | 输送;包装;贮存;搬运薄的或细丝状材料; |
| 申请人名称 | 普莱柯生物工程股份有限公司 |
| 申请人地址 | 河南省洛阳市高新区凌波路5号 |
专利法律状态
2021-12-03
授权
状态信息
授权
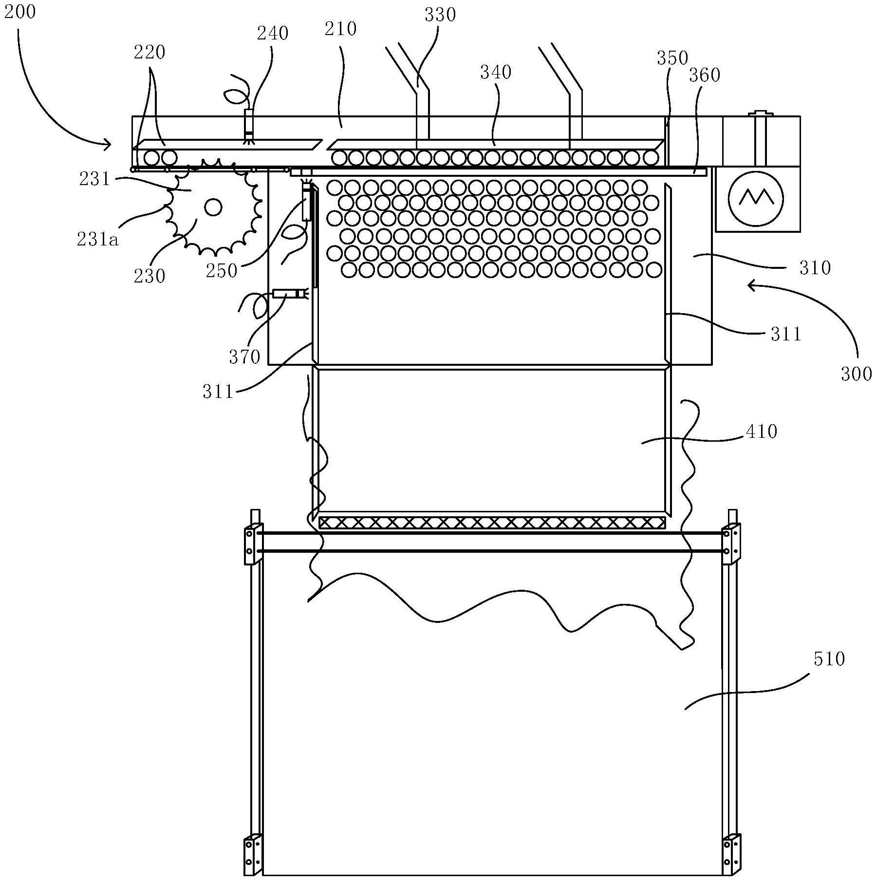
摘要
一种自动理瓶装袋机,包括:输送机构,具有输送带,用于输送瓶子;理瓶机构,具有推瓶板,可将输送机构输送的瓶子推到袋子内;封口机构,具有相对设置的上热封器及下热封器,可对袋子的开口端进行热封处理。采用如上结构,通过输送机构可以实现瓶子的自动输送,理瓶机构可以将输送机构上的瓶子通过推瓶板推到袋子内,然后通过封口机构的上热封器及下热封器对袋子的开口端进行热封处理。从而实现对瓶子的自动整理装袋,节省了人工。


