授权公布号:CN112064733B
一种将洗涤后的水智能化分类并净化的家用水槽
有效
申请
2020-08-20
申请公布
2020-12-11
授权
2021-11-05
预估到期
2040-08-20
| 申请号 | CN202010845751.9 |
| 申请日 | 2020-08-20 |
| 申请公布号 | CN112064733A |
| 申请公布日 | 2020-12-11 |
| 授权公布号 | CN112064733B |
| 授权公告日 | 2021-11-05 |
| 分类号 | B01D35/027;C02F9/02;E03C1/122;E03B1/04 |
| 分类 | 一般的物理或化学的方法或装置; |
| 申请人名称 | 广东樱奥厨具有限公司 |
| 申请人地址 | 广东省佛山市顺德区杏坛镇顺德科技工业园C区科技区三路1号 |
专利法律状态
2021-11-05
授权
状态信息
授权
2021-10-29
专利申请权、专利权的转移
状态信息
专利申请权的转移;IPC(主分类):B01D35/027;登记生效日:20211019;变更事项:申请人;变更前:林秀秀;变更后:广东樱奥厨具有限公司;变更事项:地址;变更前:325500 浙江省温州市泰顺县彭溪镇富洋村贡头;变更后:528300 广东省佛山市顺德区杏坛镇顺德科技工业园C区科技区三路1号
2020-12-29
实质审查的生效
状态信息
实质审查的生效;IPC(主分类):E03C1/122;申请日:20200820
2020-12-11
公布
状态信息
公布
摘要
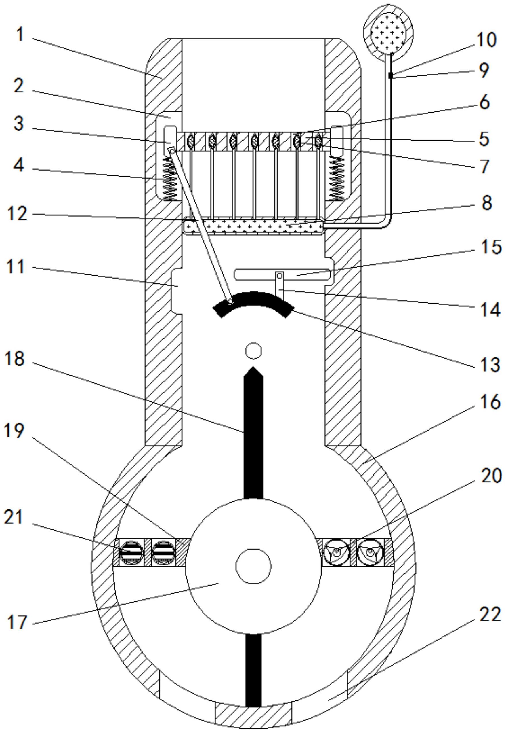
本发明涉及智能家居技术领域,且公开了一种将洗涤后的水智能化分类并净化的家用水槽,包括进水管道,所述进水管道左右两侧的内壁开设有安置槽,所述滑块的正面活动连接有活动杆,所述活动杆的底部活动安装有偏转盘,所述偏转盘的顶部固定连接有带动杆,所述带动杆的顶部活动连接有挡水块。通过进气管道将气囊鼓起,挡板内通孔堵塞住,仅能容许水溶液通过,当水槽内水为含有污泥的水时,挡板将会增重使得滑块下移,从而活动杆带动偏转盘转动,挡水块从右侧安置槽进入到左侧安置槽内,将水从右侧排放,当水槽内的水为含有化学成分的水时,挡水块堵住右侧的出口,水从左侧排出,达到了将含有不用成分的水溶液智能化分类的效果。


