授权公布号:CN211962556U
一种脸部按摩器
有效
申请
2019-12-23
申请公布
1970-01-01
授权
2020-11-20
预估到期
2029-12-23
| 申请号 | CN201922319160.3 |
| 申请日 | 2019-12-23 |
| 授权公布号 | CN211962556U |
| 授权公告日 | 2020-11-20 |
| 分类号 | A61H15/00 |
| 分类 | 医学或兽医学;卫生学; |
| 申请人名称 | 中山市金稻电器有限公司 |
| 申请人地址 | 广东省中山市三乡镇平南工业区金宏路32号首层 |
专利法律状态
2020-11-20
授权
状态信息
授权
摘要
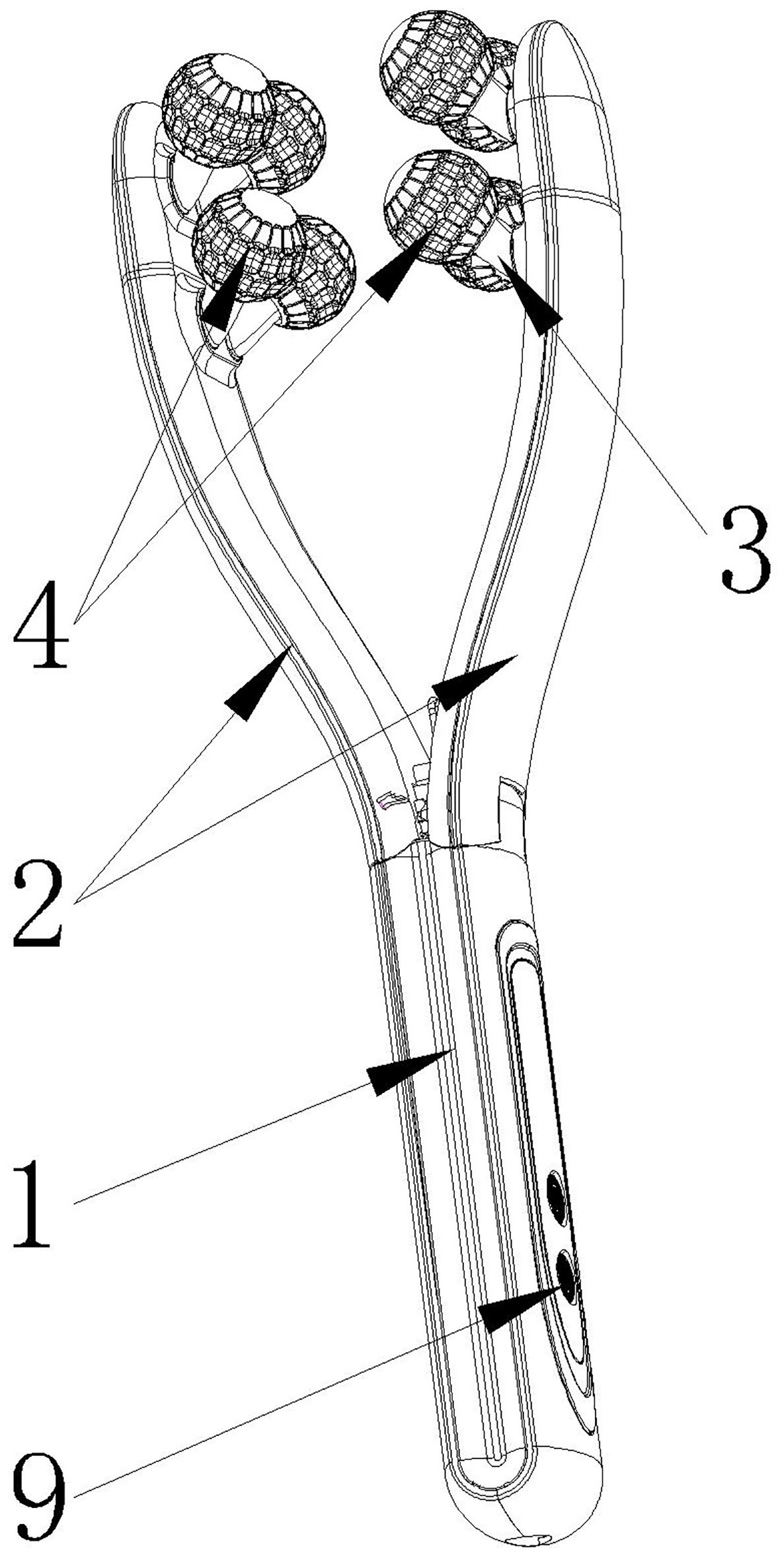
本实用新型旨在提供一种按摩范围大且适应性好的脸部按摩器。本实用新型包括手柄以及一对转臂,一对所述转臂均铰接配合在所述手柄上,所述转臂上设置有若干组按摩组件,所述按摩组件包括两个对称设置的转动支架,所述转动支架转动配合在所述转臂上,所述转动支架远离所述转臂的一端转动配合有按摩球。本实用新型应用于按摩设备的技术领域。


