授权公布号:CN212581517U
一种枕芯填充装置
有效
申请
2020-05-22
申请公布
1970-01-01
授权
2021-02-23
预估到期
2030-05-22
| 申请号 | CN202020876896.0 |
| 申请日 | 2020-05-22 |
| 授权公布号 | CN212581517U |
| 授权公告日 | 2021-02-23 |
| 分类号 | B68G7/06 |
| 分类 | 鞍具;家具罩面; |
| 申请人名称 | 江苏斯得福纺织股份有限公司 |
| 申请人地址 | 江苏省南通市港闸经济开发区永兴路52号 |
专利法律状态
2021-02-23
授权
状态信息
授权
摘要
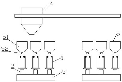
本实用新型公开了一种枕芯填充装置,包括枕芯夹持机构、升降机构、旋转平台、料仓和灌芯机构;料仓的下方设置灌芯机构;旋转平台设置于所述灌芯机构的下方;所述的旋转平台上设置有多个枕芯夹持机构;旋转平台旋转依次将不同位置的枕芯夹持机构旋转至灌芯机构的正下方;所述的枕芯夹持机构通过升降机构安装于所述的回转平上。本实用新型通过设置多个灌芯仓,灌芯仓内设置不同物料,通过旋转平台的旋转,将枕芯旋转至不同灌芯仓下方,填充不同物料,提高填充效率。利用夹持机构夹持枕芯,也降低工人的劳动强度。


