授权公布号:CN216193600U
一种助眠蚕丝被生产用面料裁剪装置
有效
申请
2021-12-02
申请公布
1970-01-01
授权
2022-04-05
预估到期
2031-12-02
| 申请号 | CN202123006443.6 |
| 申请日 | 2021-12-02 |
| 授权公布号 | CN216193600U |
| 授权公告日 | 2022-04-05 |
| 分类号 | D06H7/02 |
| 分类 | 织物等的处理;洗涤;其他类不包括的柔性材料; |
| 申请人名称 | 湖州蚕花娘娘蚕丝被有限公司 |
| 申请人地址 | 浙江省湖州市吴兴区天字圩288号5幢1层 |
专利法律状态
2022-04-05
授权
状态信息
授权
摘要
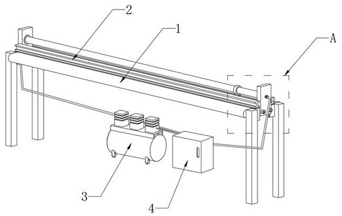
本实用新型公开了一种助眠蚕丝被生产用面料裁剪装置,涉及面料裁剪装置领域,针对现有的蚕丝被生产用面料切分装置存在使用成本高和操作难度大的问题,现提出如下方案,其包括用于面料裁切的裁切机构,所述裁切机构的顶端设置有压布机构,所述裁切机构是一种压缩气驱动的滑切结构,裁切机构包括面板、侧板、导管、滑套以及刀片,所述导管内滑动连接有活塞,所述压布机构包括气缸和压杆,所述面板的两端向下设置有四组支架,所述侧板对称分布于面板的两端,且所述导管的两端分别与两组侧板连接。本实用新型结构新颖,该装置有效的解决了现有的蚕丝被生产用面料切分装置存在使用成本高和操作难度大的问题。


