授权公布号:CN219129162U
一种饲料生产预混料投料装置
有效
申请
2022-12-30
申请公布
1970-01-01
授权
2023-06-06
预估到期
2032-12-30
| 申请号 | CN202223559013.1 |
| 申请日 | 2022-12-30 |
| 授权公布号 | CN219129162U |
| 授权公告日 | 2023-06-06 |
| 分类号 | B01F35/83;B01F35/71;B01F27/90;A23N17/00;B01F101/18N |
| 分类 | 一般的物理或化学的方法或装置; |
| 申请人名称 | 沈阳波音饲料有限公司 |
| 申请人地址 | 辽宁省沈阳市于洪区于洪乡前民村 |
专利法律状态
2023-06-06
授权
状态信息
授权
摘要
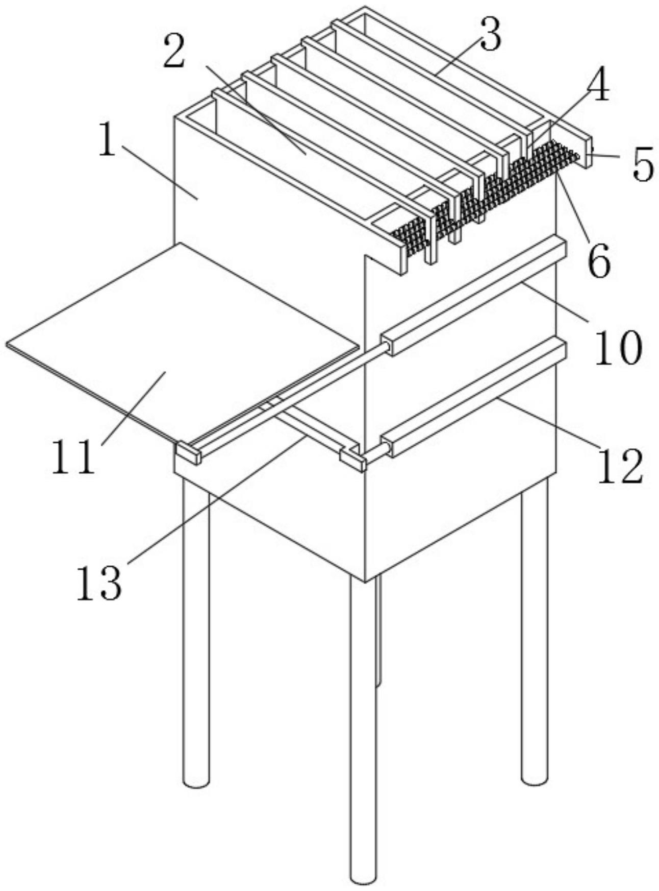
本实用新型公开了一种饲料生产预混料投料装置,涉及到饲料生产技术领域,包括投料箱,所述投料箱内滑动安装有多个分隔板,多个所述分隔板的顶部均安装有连接杆,多个所述连接杆的长度依次增加,多个所述连接杆的一端均安装有移动块,多个所述移动块的位置错开设置。本实用新型结构合理,通过转动螺纹杆转动使得对应的移动块移动,从而带动连接杆、分隔板、滑动块和限位板移动,从而调节两个相互靠近的分隔板之间的空间,便于不同的配成比例,将多种配料倒入,启动上气缸即可带动上插板插入投料箱内对配比好的配料进行阻挡,启动下气缸即可带动下插板移动,即可使得各种配料落下,即可使得各种配比好的配料按照相同的重量进料。


