授权公布号:CN210048329U
一种电梯用防漏电装置
有效
申请
2019-05-06
申请公布
1970-01-01
授权
2020-02-11
预估到期
2029-05-06
| 申请号 | CN201920636118.1 |
| 申请日 | 2019-05-06 |
| 授权公布号 | CN210048329U |
| 授权公告日 | 2020-02-11 |
| 分类号 | B66B11/02;B66B5/02;B01D53/26 |
| 分类 | 卷扬;提升;牵引; |
| 申请人名称 | 苏州德奥电梯有限公司 |
| 申请人地址 | 江苏省苏州市吴江经济技术开发区仪塔路588号 |
专利法律状态
2020-02-11
授权
状态信息
授权
摘要
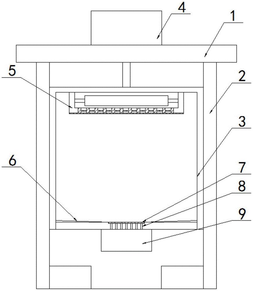
本实用新型公开了一种电梯用防漏电装置,包括导轨、轿厢和储水箱,导轨设置在轿厢两侧,储水箱固定在轿厢底部,轿厢的内底面四周固定有导水板,轿厢底面中部开设有若干个透水孔,储水箱顶部开设有与透水孔连通的进水口,储水箱内壁固定有固定块,固定块内活动连接有触动杆,触动杆的下端设置在固定块下方且连接有浮块,触动杆的上端设置在固定块上方且外壁固定有报警器;轿厢的内顶部设置有固定架,固定架的内部设置有风机,固定架的下方均匀开设有若干个干燥孔,干燥孔内填充有粉末干燥剂,导轨顶部设置有固定板。本实用新型可以避免消防用水通过轿厢渗漏到电梯井对井内电器造成损伤,减少轿厢内的水汽,防止造成电路短路。


