授权公布号:CN109052102B
一种电梯紧急安全制动装置
有效
申请
2018-10-30
申请公布
2018-12-21
授权
2023-12-05
预估到期
2038-10-30
| 申请号 | CN201811275471.8 |
| 申请日 | 2018-10-30 |
| 申请公布号 | CN109052102A |
| 申请公布日 | 2018-12-21 |
| 授权公布号 | CN109052102B |
| 授权公告日 | 2023-12-05 |
| 分类号 | B66B5/28 |
| 分类 | 卷扬;提升;牵引; |
| 申请人名称 | 苏州德奥电梯有限公司 |
| 申请人地址 | 江苏省苏州市吴江经济技术开发区仪塔路588号 |
专利法律状态
2023-12-05
授权
状态信息
授权
2019-01-15
实质审查的生效
状态信息
实质审查的生效;IPC(主分类):B66B5/28;申请日:20181030
2018-12-21
公布
状态信息
公布
摘要
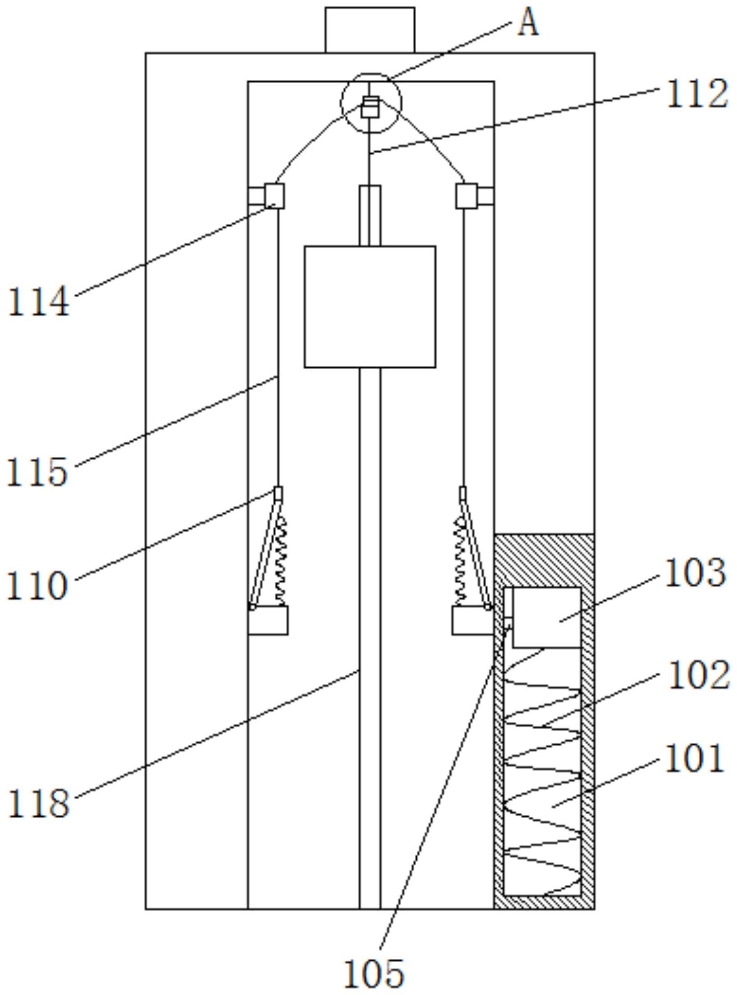
本发明公开了一种电梯紧急安全制动装置,涉及电梯设备技术领域。本发明包括井道,井道相对两侧内部均开设有缓冲腔,缓冲腔底部固定连接有缓冲弹簧,缓冲弹簧一端固定连接有缓冲块,缓冲块一表面通过一连接杆固定连接有移动块,移动块一表面开设有凹槽,凹槽一表面固定连接有驱动弹簧,移动块一表面转动连接有支撑板,驱动弹簧一端与支撑板一表面固定连接,支撑板一侧面固定连接有拉环。本发明通过缓冲腔、缓冲弹簧、缓冲块和支撑板的设计,使轿厢脱落时能够落在井道两侧的支撑板上,缓冲弹簧对脱落的轿厢有减速缓冲作用,从而避免了现有电梯损坏而脱落由于紧急制动不及时,影响轿厢内人身安全的问题。


