授权公布号:CN218434364U
一种电梯钢丝绳断股自检测保护装置
有效
申请
2022-07-19
申请公布
1970-01-01
授权
2023-02-03
预估到期
2032-07-19
| 申请号 | CN202221857999.8 |
| 申请日 | 2022-07-19 |
| 授权公布号 | CN218434364U |
| 授权公告日 | 2023-02-03 |
| 分类号 | B66B5/00 |
| 分类 | 卷扬;提升;牵引; |
| 申请人名称 | 苏州德奥电梯有限公司 |
| 申请人地址 | 江苏省苏州市吴江经济技术开发区仪塔路588号 |
专利法律状态
2023-02-03
授权
状态信息
授权
摘要
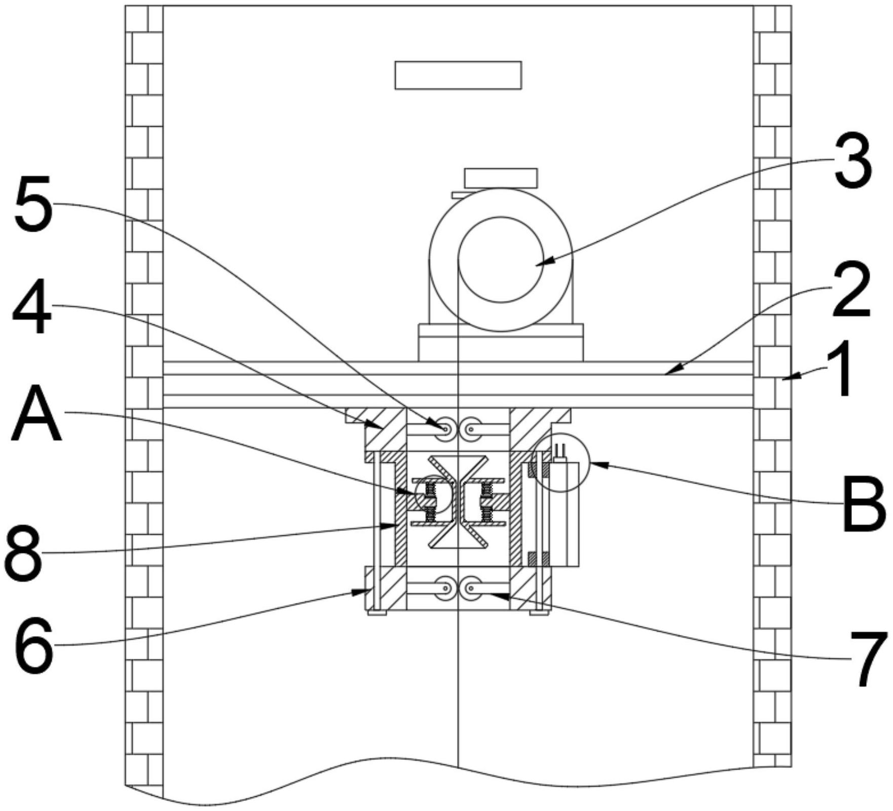
本实用新型公开了一种电梯钢丝绳断股自检测保护装置,涉及电梯检测保护技术领域,为解决现有的电梯钢丝绳在长期使用下会出现断股现象,使用者在不知情的情况下乘坐安装有断股钢丝绳的电梯时,容易引发安全事故的问题。所述电梯井的内部安装有安装横板,所述安装横板的下端安装有第一限位支架,所述第一限位支架与安装横板固定连接,所述第一限位支架下端的两侧均安装有限位轴,所述限位轴的外部安装有检测支架,所述限位轴的下端安装有第二限位支架,所述第二限位支架与限位轴固定连接,所述检测支架内部两侧的上下两端均安装有压力传感器,所述压力传感器与检测支架固定连接。


