授权公布号:CN218754408U
一种用于电梯轿厢的消毒器及电梯
有效
申请
2022-08-03
申请公布
1970-01-01
授权
2023-03-28
预估到期
2032-08-03
| 申请号 | CN202222032582.4 |
| 申请日 | 2022-08-03 |
| 授权公布号 | CN218754408U |
| 授权公告日 | 2023-03-28 |
| 分类号 | B66B11/02;A61L9/14;A61L2/18;A61M35/00;A47K7/04;B01D46/10;B01D46/48;F24F7/007;F24F7/003;F24F8/108 |
| 分类 | 卷扬;提升;牵引; |
| 申请人名称 | 苏州德奥电梯有限公司 |
| 申请人地址 | 江苏省苏州市吴江经济技术开发区仪塔路588号 |
专利法律状态
2023-03-28
授权
状态信息
授权
摘要
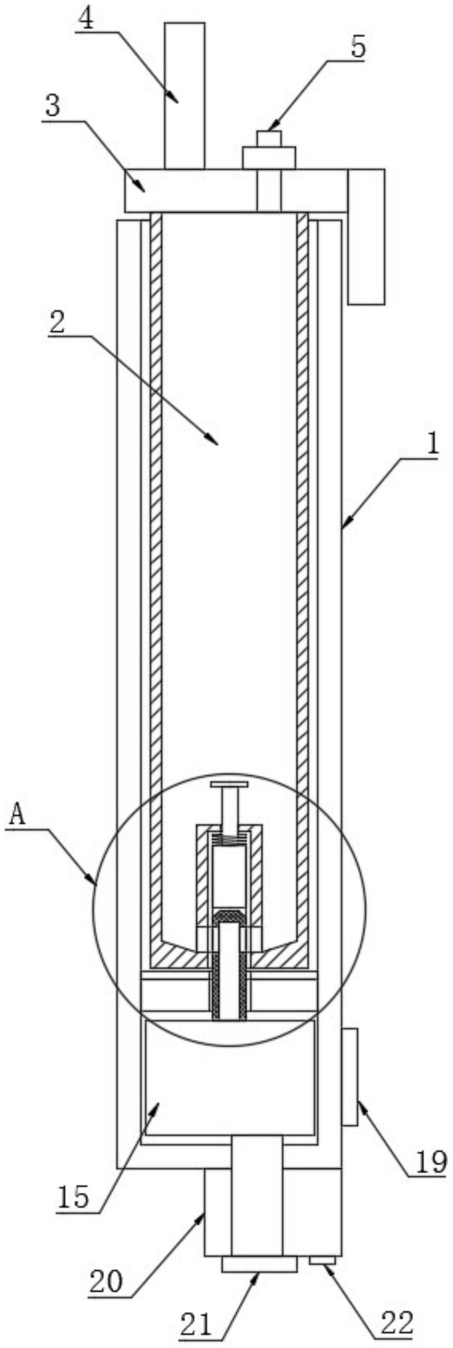
本发明公开了一种用于电梯轿厢的消毒器及电梯,具体涉及电梯轿厢领域,包括消毒箱外壳和消毒液内箱,所述消毒液内箱设置在消毒箱外壳的中部,所述消毒液内箱的顶部固定连接有连接顶板,所述连接顶板的顶部设置有提手和进气管,所述消毒液内箱的内腔底部固定连接有连接杆,所述连接杆的底端两侧对称开设有通孔。本发明首先可以通过设置的连接杆和连接插杆、密封柱的配合,可以使消毒液内箱单独使用时,消毒液内箱内部的消毒液不会流出,同时当连接插杆插入连接杆内部时通过对密封柱进行推动,使通孔与进液孔相对应,从而使消毒液内箱安装在消毒箱外壳内部时,消毒液内箱的内部自动与连接插杆的内部相连通,提高使用效果。


