授权公布号:CN218434382U
一种用于电梯安全救援系统的锁定装置
有效
申请
2022-07-19
申请公布
1970-01-01
授权
2023-02-03
预估到期
2032-07-19
| 申请号 | CN202221858195.X |
| 申请日 | 2022-07-19 |
| 授权公布号 | CN218434382U |
| 授权公告日 | 2023-02-03 |
| 分类号 | B66B5/18;B66B5/02 |
| 分类 | 卷扬;提升;牵引; |
| 申请人名称 | 苏州德奥电梯有限公司 |
| 申请人地址 | 江苏省苏州市吴江经济技术开发区仪塔路588号 |
专利法律状态
2023-02-03
授权
状态信息
授权
摘要
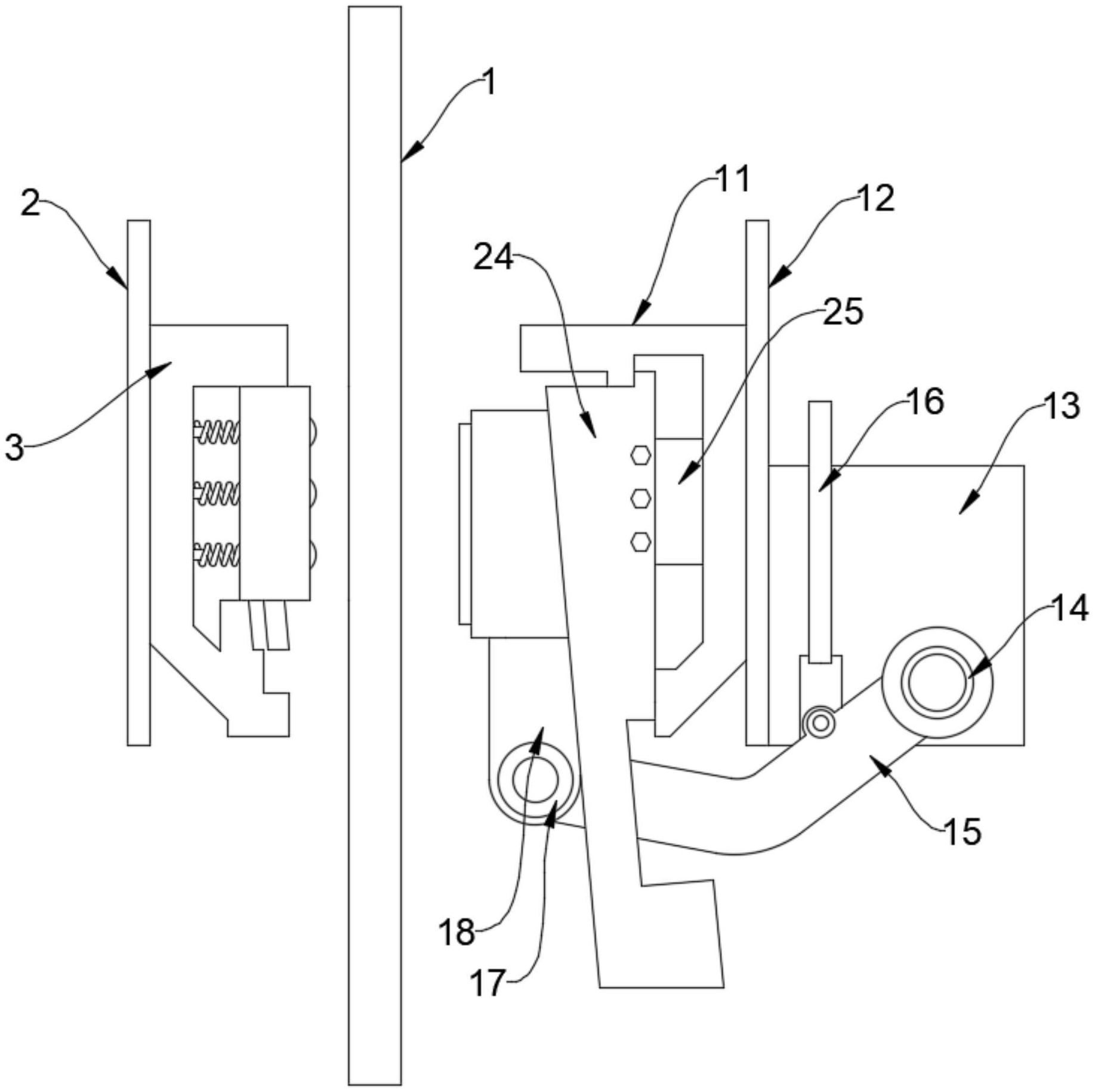
本实用新型公开了一种用于电梯安全救援系统的锁定装置,涉及电梯相关领域,为解决现有技术中的无法解决现有锁定装置易产生损坏的问题。所述电梯导轨的一侧设置有固定板,所述电梯导轨的另一侧设置有挤压块,所述挤压块的内部设置有摩擦板,所述挤压块的一侧设置有固定套板,所述固定板上设置有隔条,所述隔条设置有多个,所述隔条设置为矩形条状,所述隔条与固定板设置为固定连接,所述隔条的内侧设置有固定架,所述固定架设置有多个,所述固定架上设置有滑轮,所述滑轮与固定架设置为转动连接,所述固定板的下端设置有挡条,所述挡条设置为矩形条状,所述挡条与固定板设置为固定连接。


