授权公布号:CN216348534U
一种电梯用钢丝绳的弹性伸长的检测装置
有效
申请
2021-12-06
申请公布
1970-01-01
授权
2022-04-19
预估到期
2031-12-06
| 申请号 | CN202123102156.5 |
| 申请日 | 2021-12-06 |
| 授权公布号 | CN216348534U |
| 授权公告日 | 2022-04-19 |
| 分类号 | G01B21/32 |
| 分类 | 测量;测试; |
| 申请人名称 | 苏州德奥电梯有限公司 |
| 申请人地址 | 江苏省苏州市吴江经济技术开发区仪塔路588号 |
专利法律状态
2022-04-19
授权
状态信息
授权
摘要
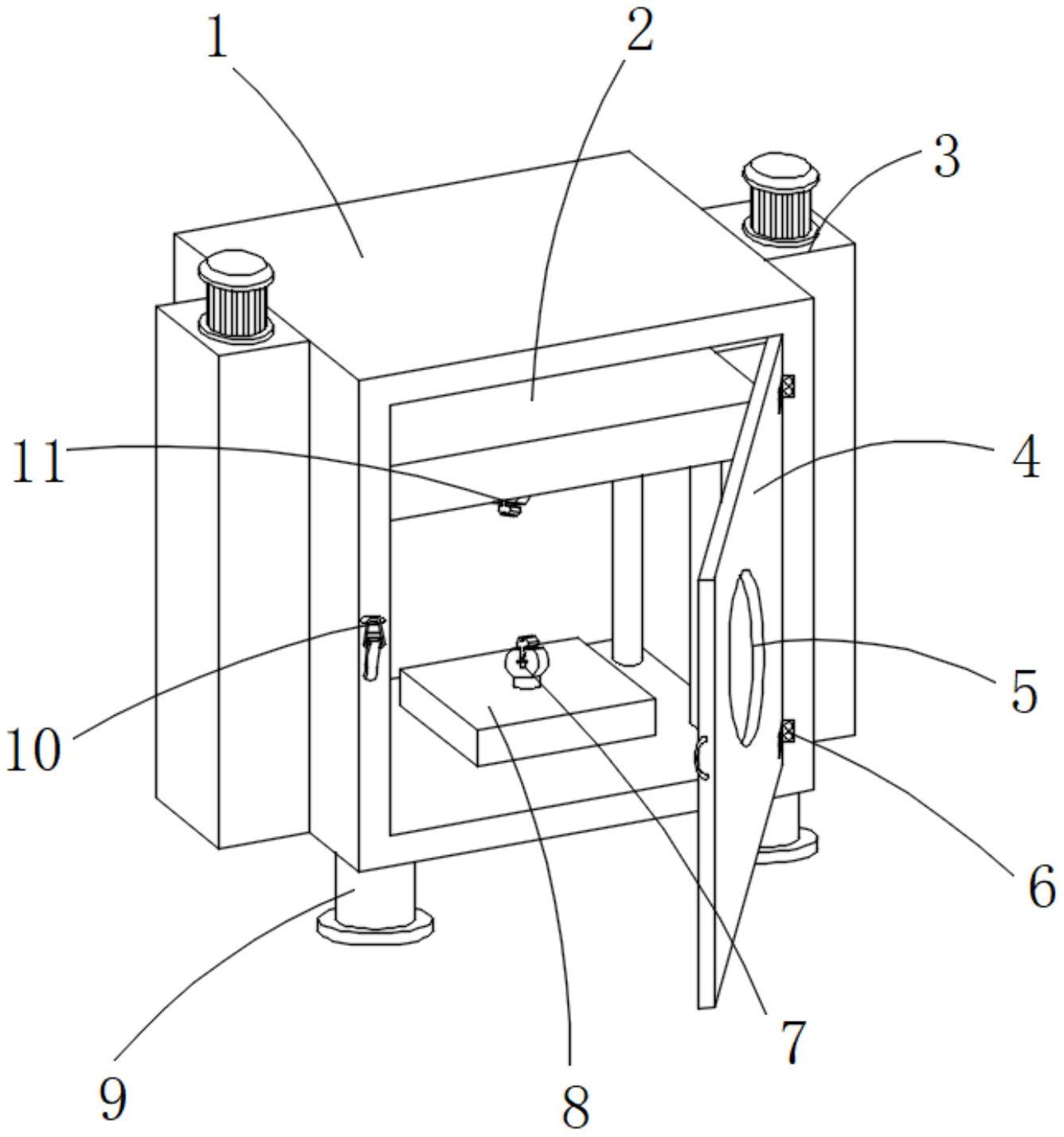
本实用新型公开了一种电梯用钢丝绳的弹性伸长的检测装置,包括防护箱主体,所述防护箱主体的左右两侧固定安装有升降组件,所述防护箱主体内腔的上部设置有升降板,所述防护箱主体内腔的底部固定安装有安装板,所述安装板上端外表面固定安装有下夹具,所述防护箱主体的前端外表面设置有防护门,所述升降板下端外表面的中部固定安装有拉力传感器,所述拉力传感器的下端外表面固定安装有上夹具,所述升降板下端外表面的右侧固定安装有安装组件,所述安装组件的下端外表面固定安装有测距仪。本实用新型所述的一种电梯用钢丝绳的弹性伸长的检测装置,具备便于稳定的控制升降板的升降,便于钢丝绳的弹性伸长量,且安全,测距仪便于安装拆卸等优点。


