授权公布号:CN212511655U
一种确保轿厢内空气安全的电梯
有效
申请
2020-04-14
申请公布
1970-01-01
授权
2021-02-09
预估到期
2030-04-14
| 申请号 | CN202020545690.X |
| 申请日 | 2020-04-14 |
| 授权公布号 | CN212511655U |
| 授权公告日 | 2021-02-09 |
| 分类号 | F24F8/108; |
| 分类 | 供热;炉灶;通风; |
| 申请人名称 | 苏州德奥电梯有限公司 |
| 申请人地址 | 江苏省苏州市吴江经济技术开发区仪塔路588号 |
专利法律状态
2021-02-09
授权
状态信息
授权
摘要
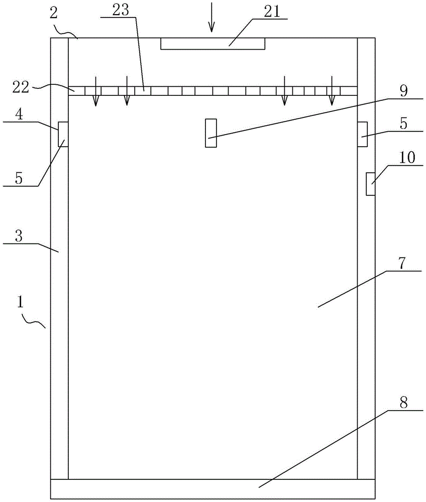
本实用新型提供了一种确保轿厢内空气安全的电梯,其能够确保轿厢内空气的洁净度,且在轿厢静止且无人状态下进行消毒,提高乘梯者的安全度。其包括轿厢,所述轿厢的顶部内腔集成有FFU净化单元,所述FFU净化单元对应于所述轿厢的顶板中心位置设置有进气口,所述进气口上盖装有滤板,所述FFU净化单元的下部对应于门板的位置侧设置有出风口,所述出风口的区域排布有若干出风引导孔,所述轿厢的两侧壁上开设有内凹安装槽,所述内凹安装槽上固装有低臭氧高强度紫外线杀菌灯。


